播种机的排种性能直接影响其作业质量,种箱缺种或排种器故障等导致播种时易出现漏播、重播以及实际播种量与理论播种量不相符的问题[1],直接影响播种质量,进而影响土地产出率[2-5]。这些问题人工很难发现,因此,实现播种过程的自动监控,对保证播种质量具有重要意义。目前比较常用的排种性能检测方式主要有压电法、光电法、计算机视觉法[6-11]。陈进等[12]运用高速摄像系统和图像处理技术对排种器性能进行了研究;周利明等[13]基于微电容信号获取与分析来评定排种器的性能;张继成等[6]基于光敏传感器对播种与施肥过程中的漏播监测进行了研究,初步解决了播种作业过程中种肥的自动监控问题。而鲜少有研究涉及到播种量的监测。本研究采用光电法获取种子下落的电脉冲信号,滤波整形后由单片机处理,分析得出漏播率、重播率、播种量信息。
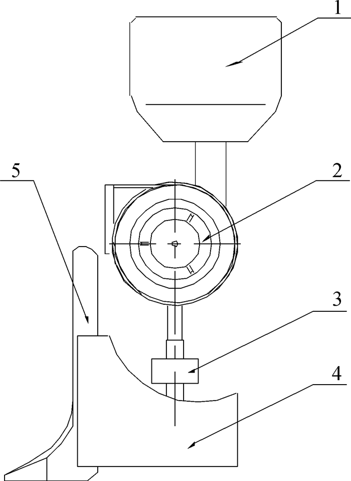
1 监测装置的设计及原理 1.1 监测装置的设计监测装置的安装位置将影响其工作性能,如果安装位置靠近排种器,则下方排种管堵塞时,很难及时检测到,为提高系统工作性能,实际生产中,本系统监测装置被安装在紧靠开沟器上方处,如图 1所示。
|
图 1 监测装置安装位置示意图 Figure 1 Schematic diagram of monitoring sensor position 1:种箱;2:垂直勺轮式排种器;3:监测装置;4:开沟器侧板;5:开沟器。 |
光电传感器由发射端和接收端2部分组成。发射端为1个直径10 mm的红外发射二极管,工作时发出波长850 nm、发射角度45°的红外光。为使发射光可以无盲区地覆盖整个监测装置,监测装置内部的长方体结构长、宽、高为45 mm×35 mm×40 mm,并在发射端安装凸透镜,根据红外发射二极管的发射角度及监测装置的宽度,选择凸透镜的焦距为17.5 mm,红外发射二极管安装在凸透镜的焦点位置[14],红外光经凸透镜后平行射向接收端。为提高监测精度,接收端采用紧密排列的宽度为2 mm的贴片式红外接收二极管,串联成一字型。同时,发射端与接收端都安装有塑料防尘罩,可以有效减少尘土附着,方便清洁。监测装置俯视图见图 2。
|
图 2 监测装置俯视图 Figure 2 Top view of monitoring sensor 1:红外发射二极管;2:凸透镜;3、5:防尘罩;4:播种管横切面;6:红外接收二极管。 |
正常工作时,红外光穿过凸透镜后平行照射至接收端。当种子经过监测装置完全遮挡1个或多个红外接收二极管时,接收端会产生电平变化,并将该电平信号传输给单片机,单片机根据该电平信号统计种子下落时间间隔,结合增量式编码器所测机具前进速度得出实际株距,并与设定的理论株距相比较,分析得出漏播率、重播率、播种量信息。
单片机获取相邻2粒种子下落的时间间隔Δt,Δt与播种机行进速度v的乘积即为实际粒距的监测值,并根据GB/T6973—2005《单粒(精密)播种机试验方法》[15]对比理论粒距与实际粒距,按下式判断是否重播、漏播:
| $ \left\{ \begin{array}{l} v\Delta t \le 0.5\bar d\left( {{\rm{重播}}} \right)\\ v\Delta t > 1.5\bar d\left( {{\rm{漏播}}} \right), \end{array} \right. $ |
式中,d为播种理论株距(m),通过监测系统的按键模块设定。
利用安装在播种机测速轮上的增量式编码器(型号:E6B2-CWZ6C 1000P/R)采集测速轮转动脉冲信号,单片机记录测速周期内的脉冲个数,播种机行进速度由下式计算:
| $ v = \frac{N}{{1\;000T}}{\rm{ \mathsf{ π} }}D\left( {1 + \delta } \right), $ |
式中,N为脉冲个数;T为行走速度测速周期(s);D为测速轮直径(m);δ为滑移率(%)。
定义1 min内排种轴的转数与排种盘的孔数的乘积为理论排种量、监测系统1 min内捕获到的播种粒数为实际排种量,两者比值为报警系数。排种轴的转速由下式计算:
| $ n = i\frac{N}{{1\;000T}}\left( {1 + \delta } \right)60 = \frac{{3Ni}}{{50T}}\left( {1 + \delta } \right), $ |
式中,n为排种轴转速(r·min-1);i为传动比系数。
程序执行过程中,当报警系数P超出程序设定的范围或出现漏播、重播现象时,系统发出声光报警;若单片机检测到播种机行进速度为0,则系统认为播种机停止工作,不再对播种过程进行监测。
2 监测系统设计 2.1 系统硬件方案设计该系统以STM32F103ZET6单片机、降压芯片LM2576及电压比较器LM393AD为核心搭建而成,从硬件结构上可以分为监测模块、测速模块、语音报警模块、液晶显示模块、按键模块和LED报警模块6大模块,所需电源由拖拉机的蓄电池经过DC12V-DC5V降压后提供。其结构框图见图 3。控制面板上的按键模块可以对理论株距、测速轮直径、滑移率、传动比、测速周期和报警系数的范围进行设置。液晶显示模块可以显示单行播量、总播种量、播种机行进速度、漏播率和重播率。LED报警模块与播种通道对应,若某一行或多行出现漏播或重播现象,则对应的LED会闪烁报警,并发出语音报警。
|
图 3 监测系统硬件结构框图 Figure 3 Hardware structure block diagram of monitoring system |
排种监测电路如图 4所示,主要用于获取种子经过监测装置时的信息。监测电路主要由红外发射二极管、红外接收二极管、LM393AD电压比较器等器件组成。考虑到捕获数据的可靠性与稳定性,采用LM393AD作为电压比较器件, 且LM393AD可以同时处理2路信号,提高工作效率。针对不同品种的种子经过时所要求的精度不同,采用滑动变阻器R3调节传感器的灵敏度。采用1个0.1 μF电容C1滤除采集信号过程中的杂波,并对电压比较器起到保护作用。
|
图 4 排种监测电路 Figure 4 Monitoring circuit for sowing |
单片机软件采用模块化程序设计,其主要模块包括系统初始化、定时中断、按键扫描、数据采集、报警模块。系统软件流程如图 5所示。
|
图 5 系统软件流程图 Figure 5 Flowchart of the system software |
监测系统正常启动之后,首先初始化程序,然后执行自检功能,如存在异常,由人工处理并再次自检。程序自检通过后,通过按键模块输入理论株距、测速轮直径、报警参数、滑移率、传动比和测速周期。系统监测到种子下落,启动定时器,记录相邻种子的时间间隔,按公式判断漏播与重播,同时分析报警系数是否超出正常范围。
3 系统测试试验结果试验选用玉米种子,品种为郑单958,千粒质量330 g,纯净度99%,含水量(w)13%,休止角31°,经测定,种子平均长、宽、高分别为9.6、6.3、5.2 mm,选用18勺垂直勺轮式排种器,监测装置安装在排种器下方。试验在南京农业大学排种器性能检测试验台架上进行,根据国内现有的勺轮式玉米播种机一般工作速度设定试验速度。
3.1 单粒监测试验采用人工投种方式进行单粒监测试验,每次试验投种250粒[15],重复3次,试验过程中记录实际播种粒数与监测粒数,以3次试验平均值作为试验结果(表 1)。由表 1可知,该监测系统单粒监测精度达到98.8%。由监测管结构及其工作原理可知,种子从2个红外接收管中间下落时,其粒径需大于4 mm才能完全遮挡至少1个红外接收管,而试验所用玉米种子未进行精选,少量厚度小于4 mm的种子导致监测精度未能达到100%。
|
|
表 1 单粒监测试验结果 Table 1 Monitoring result of single grain |
监测系统的漏播与重播监测性能试验设置种床输送带速度为3、4、5 km·h-1,然后根据理论粒距以及排种器勺数确定对应排种轴转速分别为12.6、16.8、21.0 r·min-1。
每种转速条件下试验重复3次,分别记录重播指数、漏播指数的试验台测试数据和监测系统监测数据,取3次试验平均值作为试验结果(表 2)。由表 2可知,3种排种轴转速条件下,与排种器性能检测试验台架检测结果相比,监测系统测得漏播率误差小于0.3%,重播率误差小于0.6%。经分析,漏播率监测误差出现的原因与单粒监测原因相同,不再赘述;重播率监测误差出现的原因是2粒或者多粒种子重叠下落时,红外接收管一直处于被遮挡状态,光电传感器无法判断种子下落时间间隔。
|
|
表 2 漏播与重播监测试验结果 Table 2 Monitoring results of miss-seeding and re-seeding |
播种量监测试验根据理论粒距以及排种器勺数确定试验排种轴转速分别为12.6、16.8、21.0 r·min-1。试验时在监测装置下方放置纸杯,收集排种器排出的玉米种子,试验结束后统计杯中种子粒数,同时记录监测装置监测到的种子粒数。每种转速进行3次重复试验,结果见表 3,在排种器工作转速为12.6~21.0 r·min-1时,系统的播种量监测精度最小值为94.4%。监测系统对重播及漏播监测误差的积累,导致了播种量监测试验误差的出现。
|
|
表 3 播种量监测试验结果 Table 3 Monitoring result of seeding volume |
本文设计了一种基于光电传感器的监测系统,通过红外检测装置采集种子下落时的脉冲信号,对播种过程中的漏播、重播以及播种量进行监测。试验表明,该监测系统的单粒监测精度达到98.8%;与排种器性能检测试验台架检测结果相比,监测系统的漏播率监测误差小于0.3%,重播率监测误差小于0.6%;播种量监测精度大于94.4%,基本满足实际生产的需求。
| [1] |
周利明, 王书茂, 张小超, 等. 基于电容信号的玉米播种机排种性能监测系统[J]. 农业工程学报, 2012, 28(13): 16-21. ( 0) |
| [2] |
肖名涛, 孙松林, 周惠根, 等. 油菜移栽机漏栽检测系统设计[J]. 农业科技与装备, 2014(9): 20-22. ( 0) |
| [3] |
李雷霞, 郝志明, 杨薇, 等. 精密播种机排种性能检测系统的研制[J]. 农业工程, 2012, 2(8): 16-19. ( 0) |
| [4] |
MALEKI M R, JAFAR J F, RAUFAT M H, et al. Evaluation of seed distribution uniformity of a multi-flight auger as a grain drill metering device[J]. Biosyst Eng, 2006, 94(4): 535-543. DOI:10.1016/j.biosystemseng.2006.04.003 ( 0) |
| [5] |
潘圣刚, 闻祥成, 田华, 等. 播种密度和壮秧剂对水稻秧苗生理特性的影响[J]. 华南农业大学学报, 2015, 36(3): 32-36. DOI:10.7671/j.issn.1001-411X.2015.03.006 ( 0) |
| [6] |
张继成, 陈海涛, 欧阳斌林, 等. 基于光敏传感器的精密播种机监测装置[J]. 清华大学学报(自然科学版), 2013, 53(2): 265-268. ( 0) |
| [7] |
KARAYEL D, WIESEOFF M, OZMERZI A, et al. Laboratory measurement of seed drill seed spacing and velocity of fall of seeds using high-speed camera system[J]. Comput Electron Agr, 2006, 50(2): 89-96. DOI:10.1016/j.compag.2005.05.005 ( 0) |
| [8] |
史智兴, 高焕文. 玉米精播机排种监测报警装置[J]. 中国农业大学学报, 2003, 8(2): 18-20. ( 0) |
| [9] |
DING Y C, LIAO Q X, HUANG H D. The seeding migration trajectory extraction and analysis of pneumatic precision metering device for rapeseed[J]. J Food Agric Environ, 2013, 11(1): 477-482. ( 0) |
| [10] |
VOLLMANN J, WALTER H, SATO T, et al. Digital image analysis and chlorophyll metering for phenotyping the effects of nodulation in soybean[J]. Comput Electron Agr, 2011, 75(1): 190-195. DOI:10.1016/j.compag.2010.11.003 ( 0) |
| [11] |
LAN Y, KOCHER M F, SMITH J A. Opto-electronic sensor system for laboratory measurement of planter seed spacing with small seeds[J]. J Agr Eng Res, 1999, 72(2): 119-127. DOI:10.1006/jaer.1998.0353 ( 0) |
| [12] |
陈进, 边疆, 李耀明, 等. 基于高速摄像系统的精密排种器性能检测试验[J]. 农业工程学报, 2009, 25(9): 90-95. ( 0) |
| [13] |
周利明, 张小超, 苑严伟. 小麦播种机电容式排种量传感器设计[J]. 农业工程学报, 2010, 26(10): 99-103. DOI:10.3969/j.issn.1002-6819.2010.10.015 ( 0) |
| [14] |
顾菊观, 钱淑珍. 凸透镜焦距测量方法的探索[J]. 大学物理实验, 2014, 27(1): 49-51. ( 0) |
| [15] |
中华人民共和国国家质量监督检验检疫总局, 中国家标准化管理委员会. GB/T 6973—2005单粒(精密)播种机试验方法[S]. 北京: 中国标准出版社, 2005: 1-20.
( 0) |
2017, Vol. 38



0)