玉米是我国主要的粮食作物,也是云南地区种植面积最大的粮食作物,是山区农民主要的经济来源[1]。云南地处云贵高原,高原山地占全省面积的94%[2],其中88.2%以上耕地坡度大于6°[3],玉米机械化播种、收获面积不足种植面积的5%,显著低于云南省36%的主要农作物综合机械化水平[4-5]。国内外学者已对免耕播种机进行了大量的研究[6-10]。国外大型的免耕播种机不适用于我国目前的农业耕作体系。为此,国内学者针对我国特有的农业耕作体系以及北方和黄淮平原地区的特点,设计了适宜大、中型机械作业的双轴驱动防堵式、浮动支撑式、驱动圆盘式等免耕播种机械[11-15]。而西南地区海拔高、地块小、土壤黏重,免耕播种机主要是以微耕机和手扶拖拉机等一类动力驱动为主的小型播种机。郭小锋等[16]研制的2BM– 4型丘陵山区油菜免耕播种机利用旋耕刀切土,通过挂接施肥播种装置施肥播种,但存在土壤扰动量大的现象;李朝苏等[17]研制的2BMFDC– 6型稻茬麦半旋播种机通过手扶拖拉机驱动,整机质量轻,土壤扰动量小,能耗低,但存在防堵能力弱,破茬能力不强等问题。针对西南地区作业的机具少,破茬效果差,作业效率低等问题[18-20],本研究利用圆盘刀和限深轮行走装置为一体的主动式破茬防堵与双圆盘装置被动式防堵的各自优势,设计了一种微耕机驱动的圆盘刀式玉米免耕播种机,并对3种圆盘刀的防堵破茬、免耕播种、功耗等性能参数进行田间试验。
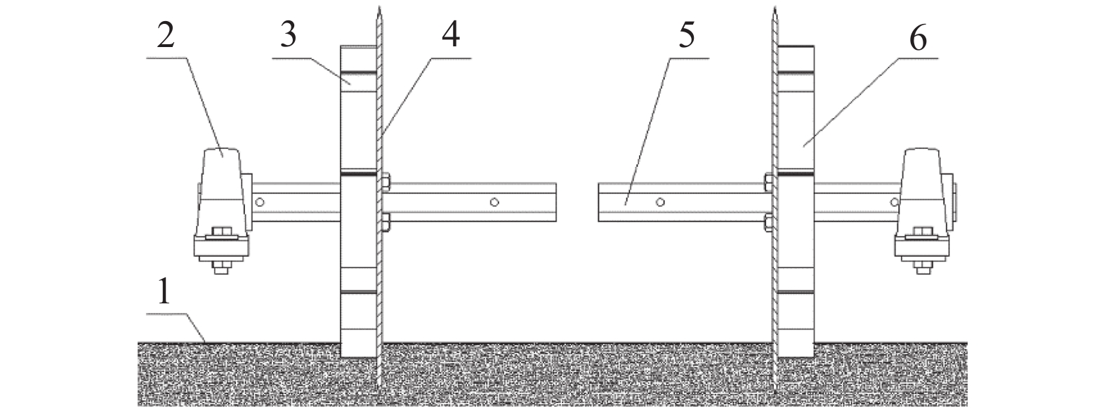
1 整机结构设计和防堵原理 1.1 整机结构和技术参数设计的玉米免耕播种机整机如图1所示。免耕播种机主要由机架、圆盘刀、限深轮行走装置、双圆盘播种施肥装置等组成,其中圆盘刀固定在六方刀轴上,垂直于地面且与机具前进方向平行,并与限深轮行走装置通过焊接固定,可以随刀轴以一定的旋转速度正向切茬,并具备一定的抓地性能。该机进地一次能完成破茬、开沟、施肥、播种等免耕作业。
|
图 1 微耕机驱动的圆盘刀式玉米免耕播种机结构示意图 Figure 1 Structural sketch of disc-cutting type maize no-till seeder driven by micro tillage machine 1:微耕机;2:刀轴;3:圆盘刀破茬限深轮行走装置;4:轴承座;5:双圆盘播种施肥装置;6:机架;7:地轮;8:链条张紧装置;9:升降地轮支架;10:种肥箱 |
设计的玉米免耕播种机主要技术参数为:整机质量95 kg;外形尺寸1 200 mm×950 mm×1 200 mm;配套微耕机动力6.5 kW;播种幅宽400 mm;播种行数2行;播种株距400 mm,作业行进速度2~5 km·h–1;播种深度30~40 mm;施肥深度70~80 mm;排种器类型为窝眼轮式;排肥器类型为外槽轮式;种肥量调节方式为手轮调节;防堵作业方式为主动圆盘开沟破茬与双圆盘二次防堵。
1.2 结构与防堵原理微耕机驱动的圆盘刀式玉米免耕播种机基于滚切圆盘刀和限深轮行走装置结合的防堵破茬原理,将圆盘刀破茬开沟与限深轮行走装置的限深防滑作用相结合(图2)。通过圆盘刀的旋转滑切可以在机具作业过程中切断播种带上的秸秆和根茬,滚动切割土壤并开出一条窄沟,其后的双圆盘施肥播种装置在开出的窄沟中二次开沟,可实现种肥同沟垂直分施,使种肥间距大于3 cm,避免烧种,不仅提高了破茬效率,减少了土壤扰动量,也降低了动力消耗。
|
图 2 破茬限深轮行走装置原理示意图 Figure 2 Schematic diagram of walking device with depth wheel and stubble breaking function 1:土壤;2:轴承座;3:行走轮突起块;4:圆盘刀;5:刀轴;6:限深轮行走装置 |
限深轮行走装置固定在圆盘刀上,依靠刀轴的转动与圆盘刀一起转动,保证作业过程中圆盘刀的切茬深度与施肥播种深度一致,同时行走轮突起块增加了与地面间的摩擦,使其具有较强的抓地和防滑性能。
2 关键部件的设计与理论分析 2.1 圆盘刀半径与限深轮行走装置半径根据宽窄行播种农艺要求并结合圆盘刀的破茬效率,选择最常用的平面、波纹和缺口3种不同类型的圆盘刀作为试验研究的对象,其直径、厚度、刃口厚度分别为510.0、5.0、1.5 mm,材料均为65锰钢,并经过了热处理,硬度为HRC38~46。
图3为破茬防堵限深轮行走装置结构原理示意图。对试验田玉米根茬进行剖面深度取样,通过测量可知,玉米根茬深度一般为62~88 mm,根茬主体部分深度为47~59 mm,土槽试验证明,圆盘刀只需切断根茬的主体,其整体便能分解,开沟施肥播种装置即可顺利通过。为确保圆盘刀切断秸秆与根茬后施肥播种装置能顺利通过并完成作业,设计的切茬深度要大于根茬主体的深度,同时要考虑行走轮突起块入地时会遇到一定的阻力与播种农艺要求。因此,确定主动圆盘刀的切茬入土深度(L)为100 mm,行走轮突起块的高度为35 mm。根据圆盘刀半径及切茬深度,可知行走轮装置的半径(R1)计算公式为:
| ${R_1} = R - L,$ | (1) |
已知圆盘刀半径(R)为255 mm,根据公式(1),得R1=155 mm。
|
图 3 破茬防堵限深轮装置结构原理示意图 Figure 3 Schematic diagram of depth wheel with stubble breaking and anti blocking function 1:土壤;2:玉米根茬;3:圆盘刀;4:限深轮行走装置;5:排肥管;6:排种口 |
主动式圆盘刀的作业对象为根茬复合体,由于复合体的作用,圆盘刀的刀刃作业时所受的阻力随切茬对象的不同而不同,针对圆盘刀切茬过程进行理论分析,以圆盘刀接触根茬至切茬时刀刃工作弧长接近最大值为Ⅰ段切茬过程(图4a)、圆盘刀切茬刀刃工作弧长最大值为Ⅱ段切茬过程(图4b)和最大切茬弧长至完全切断根茬过程为Ⅲ段切茬过程(图4c),研究各时态下圆盘刀切茬刀刀刃工作弧长的变化。
|
图 4 圆盘刀切茬过程 Figure 4 The stubble cutting process by disc knife |
根据圆盘刀切割根茬土壤复合体的各个阶段,可以得到圆盘刀刀刃弧长(l)变化与时间(t)的关系。
| $\begin{split}{l_{\mathop {{\rm{CD}}}\limits^{\frown} }} =& R{\rm{\beta }} = R{\cos ^{ - 1}}\left( {1 - \frac{L}{R}} \right) - \\ & R{\sin ^{ - 1}}\frac{{\left( {\sqrt {2RL - {L^2}} - vt} \right)}}{R},\,\,0 \leqslant t \leqslant T,\end{split}$ | (2) |
| $\begin{split}{l_{\mathop {{\rm{CD}}}\limits^{\frown} }} = R{\rm{\beta }} =& R{\rm{\theta }} - R{\sin ^{ - 1}}\frac{{\sqrt {2R\left( {L - h} \right) - {{\left( {L - h} \right)}^2}} - vt}}{R},\\ &{{T}} \leqslant t \leqslant \frac{{{l_{CD}}}}{v},\end{split}$ | (3) |
| $\begin{split}{l_{\mathop {\rm{CD}}\limits^{\frown} }} =& R\left( {{\sin }^{ - 1}}\displaystyle\frac{{\sqrt {2RL - {L^2}} - vt + d}}{R} - \right. \\& \left.{{\sin }^{ - 1}}\frac{{\sqrt {2R\left( {L - h} \right) - {{\left( {L - h} \right)}^2}} }}{R} \right),\\& {\displaystyle\frac{{{l_{CD}}}}{v} \leqslant t \leqslant \displaystyle\frac{{{l_{CD}}}}{v} + {{T}}} {\rm{,}}\end{split}$ | (4) |
| $T = \frac{{\sqrt {2RL - {L^2}} - \sqrt {2R\left( {L - h} \right) - {{\left( {L - h} \right)}^2}} }}{v},$ | (5) |
式中,R为圆盘刀半径长度,mm;L为切茬入土深度,mm;θ为圆盘刀对根茬的剪切力与地表的夹角,(°);β为圆盘刀刀刃与根茬作用的夹角,(°);d为开沟宽度,mm;v为圆盘刀切茬速度,m·s–1;t为圆盘刀接触根茬作业时间,s;
圆盘刀与限深轮行走装置的结合可以切断播种带上的秸秆与根茬,为防止切断的秸秆与根茬堵塞施肥播种机构,采用行间通过性好的双圆盘开沟器,其能在播种时引导种子和肥料落入种肥沟,同时使双圆盘上的土回落时覆盖种子和肥料,并依靠圆盘的刃口二次切割秸秆和残茬。由于聚点的位置能决定开沟宽度,且聚点所在直径与地面水平线的夹角,即聚点的高度(φ)应接近最大开沟宽度,设计取φ=60°,两圆盘的夹角(δ)为14°,圆盘直径(D)为510 mm,可计算出开沟宽度(d)为31 mm。
2.4 排种、排肥器 2.4.1 窝眼轮式排种器窝眼轮式精量排种器是进行穴播的主要排种器[26]。在满足其他播种条件下,通过降低窝眼轮线速度、增大槽轮直径、降低投种高度等,可提高窝眼轮充种系数与播种的均匀性。
该排种器圆周排列12行,每行6列窝眼,因玉米种子为椭圆形或近似梯形,故窝眼近似为中间长方形、两端半圆形的椭圆形,且每个窝眼的长、宽与深度分别为12、10与8 mm。
2.4.2 排种与排肥器性能试验依据GB/T 9478—2005《谷物条播机试验方法》[27]对排种、排肥可靠性与排量稳定性进行检测,试验以5次排种、排肥性能为参照,按接近微耕机作业速度旋转驱动地轮30圈为1次测试,并记录排出的种肥质量,求解各行排种与排肥量一致性变异系数、总排种与排肥量稳定性变异系数,并与标准值[28]进行比较。试验结果如表1、表2所示。由结果(表1、表2)可知:各行排种、排肥量一致性变异系数的平均值分别为0.85%和2.36%,小于标准要求的3.20%和13.00%;总排种、排肥量稳定性变异系数分别为0.67%和1.46%,小于标准要求的1.10%和7.80%。另外,随机选取每次试验之后各排种器排出的玉米种子200粒,选取10次,计算可知通过排种器排出的玉米种子破损率均值为0.38%,低于行业标准的0.50%,符合西南地区的农艺要求。
|
|
表 1 排种器性能 Table 1 Performance of seed metering device |
|
|
表 2 排肥器性能 Table 2 Performance of fertilizer distributor |
试验采用仿真分析是节省研究费用、缩短研发时间的重要途径[29],在提高设计效率与验证合理性方面也发挥了重要作用,仿真分析不仅在食品机械、动力机械等领域应用广泛[30-31],同时也在农业机械领域广泛应用[32-33]。
3.1 网格划分及初始条件设定通过ANSYS/LS-DYNA显示动力学分析模块与LS-PREPOST后处理器对3种不同类型的圆盘刀切削土壤过程进行联合仿真。通过圆盘刀切割土壤过程中的动力响应,了解圆盘刀在切割过程的位移、受力,根据切割过程中的应力大小确定刀具设计的合理性。
对3种类型的圆盘刀和土壤进行网格划分(图5),土壤作业区域网格单元基本尺寸为5.39 mm,其他尺寸为7.18 mm,圆盘刀基本尺寸为4.98 mm。同时定义圆盘刀与土壤的接触类型为面面侵蚀接触(ESTS),该种接触支持当土壤表面单元侵彻失效时,能继续与剩下的单元发生接触,圆盘刀通过约束土壤底部所有的节点,同时对土壤除切割面外其余五面均定义为无反射边界来模拟无限大的土壤。
以微耕机最大作业行进速度5 km·h–1为设计参数,设定作业深度为100 mm,前进方向与X轴负方向平行,设定圆盘刀前进速度V=1.39 m·s–1,约束圆盘刀只有沿X方向平动自由度以及Y方向的转动自由度,忽略圆盘刀作业过程中的滑移作用,则圆盘刀切土的角速度(ω)可按下式计算:
| $\omega = \frac{V}{R},$ | (6) |
由式(6)可得,ω为5.45 rad·s–1。
|
图 5 模型网格划分 Figure 5 Grid partition of model |
以土壤扰动量、圆盘刀切割土壤后工作区域土体变化状况为目标,以波纹圆盘刀为例,分析各阶段圆盘刀与土体变化情况(图6)。从图6可以知道,波纹圆盘刀在切割土壤过程中对土壤扰动小,切割过程平稳,未出现对土壤整体结构的破坏。
|
图 6 波纹圆盘刀切割土壤仿真结果 Figure 6 Simulation result of soil cutting with corrugated disc knife |
图7、图8分别代表3种不同类型圆盘刀切割土壤过程中所受的合力大小与Z轴形变分布图,其中Z轴方向表示圆盘刀切割土壤深度。从合力曲线图(图7)可知,平面、缺口与波纹圆盘刀所受合力分别为351.81、406.99和747.18 N,而由3种类型圆盘刀Z轴方向的土壤形变量(图8)可以得到其开沟深度的范围为92.7~96.4 mm,其中,波纹圆盘刀开沟扰动量最大,缺口圆盘刀次之,平面圆盘刀最小。
|
图 7 3种类型圆盘刀合力 Figure 7 The resultant forces of three different types of disc knives |
|
图 8 土壤Z轴方向应变结果 Figure 8 Simulation result of soil deformation at Z-axis |
2017年5月在昆明理工大学保护性耕作试验田进行了田间试验。试验地为一年一熟玉米耕地,前茬作物行距与株距分别为600、400 mm。秸秆覆盖量为2.0 kg·m–2,土壤质地为红壤土,在0~5、5~10、10~15和15~20 cm处的含水量(w)分别为30.46%、33.98%、35.92%和36.32%,土壤容积密度分别为1.31、1.32、1.35和1.38 g·cm–3。试验用玉米品种为‘蠡玉168号’,播种量为42 kg·hm–2,玉米发芽率为94%,称量玉米千粒质量为335.66 g,含水量(w)为3.71%。试验用氮、磷、钾质量比为1∶1∶1的复合肥,每公顷用量360 kg。微耕机型号为云豹EWG6.5,配套动力为6.5 kW。
4.2 试验方法试验对免耕播种机的作业质量、种肥深度、机具通过性等进行检测,方法参照文献[34-37],并使用CTM–2004F汽车拖拉机综合测试仪分别对微耕机驱动的3种不同类型的圆盘刀式玉米免耕播种机油耗进行田间测试。另外,试验以SH–20K型外置式数显推拉力计为测试仪器,测试通过22.1 kW黄海金马拖拉机在慢Ⅰ挡(0.54 m·s–1)、慢Ⅱ挡(1.12 m·s–1)、慢Ⅲ挡(2.31 m·s–1)的输出速度下牵引微耕机配套机具在空挡时的牵引阻力。
4.3 试验结果与分析 4.3.1 牵引阻力测试本研究以3种圆盘刀类型和整机作业速度为试验影响因素,根据整机作业与测试设备工况确定试验水平。为了评价对比各试验因素与水平对牵引阻力的影响,共进行了9次试验,每组各进行3次测试,取其平均值,试验方案与结果见表3。
|
|
表 3 试验方案及结果 Table 3 Test designs and results |
通过对试验结果(表3)分析可知,不同类型的圆盘刀,在整机作业速度不同时,测试所得的牵引阻力也不同;针对同一类型的圆盘刀,整机作业速度与牵引阻力大小成正比;拖拉机牵引微耕机配套机具以慢Ⅰ挡前进时的牵引阻力最小。缺口圆盘、平面圆盘和波纹圆盘播种机的最小牵引阻力分别为1.25、1.20和1.35 kN。
4.3.2 种肥深度对配置不同类型圆盘刀的免耕播种机作业后的种肥深度进行测量,记录数据并计算其平均值与变异系数,所得结果如表4所示。由表4可以看出,配置3种不同类型圆盘刀的免耕播种机作业后的质量能满足对免耕播种的农艺要求,免耕播种的农艺要求标准参见文献[38]。选用波纹圆盘刀作业后的种肥深度平均变异系数为8.06%和6.09%;平面圆盘刀为11.40%和5.80%;缺口圆盘刀为11.92%和7.51%。波纹、平面、缺口圆盘刀作业后种肥垂直间距变异系数分别为17.49%、11.76%和18.63%。种深的变异系数要大于肥深的变异系数,这是由于肥料经排肥管直接落入沟底,因此施肥深度只与机具开沟深度有关,所以排肥质量的平行性好,但播种深度同时要受开沟深度和落种前双圆盘装置回土量的影响,试验结果表明播种施肥的深度与仿真结果相似。
|
|
表 4 3种圆盘刀在留茬地种肥的覆土深度 Table 4 The seeding and fertilizing depths of three types of disc knives in the stubble field |
本研究应用主动式圆盘刀破茬开沟,双圆盘施肥播种装置在圆盘刀开出的沟槽中二次开沟,试验分别在玉米留茬地进行了3次测试,从试验结果可知,在玉米留茬地机具通过性良好,除配置缺口圆盘刀的免耕播种机有一次轻微的堵塞外,其他处理未出现堵塞情况。原因是圆盘刀有薄刃口,若忽略刃口厚度,平面与波纹圆盘刀在开始切割秸秆残茬时刃口与秸秆为点接触,秸秆所受到的压力较大,能将秸秆切断;而缺口圆盘刀缺口部分与秸秆为线接触,秸秆所受的压力相对小,在没有切断秸秆的同时,由于缺口圆盘的砍切作用使得圆盘刀在线接触部位继续向前滚动,秸秆挂在缺口部分随着圆盘一起作业而引起堵塞。
4.3.4 粒距与土壤扰动量实测整机播种平均粒距为396.3 mm(理论粒距为400 mm),标准差为3.18,变异系数为8.01%,粒距合格指数为90.3%;配置波纹、平面和缺口圆盘刀的播种机在播种后表土扰动宽度分别约为54.7、38.6和43.2 mm,播种机行距为400 mm,土壤扰动量分别约占13.68%、9.65%和10.80%,平面圆盘刀的土壤扰动量明显要小;且在试验中发现圆盘刀的实际开沟宽度要大于理论开沟宽度,这是由于破茬开沟部件在作业过程中能将两侧的土向前推开,由工作部件的向前推动使得开沟部件两侧堆积土的作用力变小直至无法将土继续向前推动导致。
4.3.5 动力消耗在相同刀轴转速下的田间油耗试验结果表明,波纹、平面与缺口圆盘刀的油耗分别为12.84、10.96和11.85 L·hm–2,平面圆盘刀油耗比缺口圆盘刀减少7.51%,比波纹圆盘刀减少14.64%。这说明平面圆盘刀相对于其他两种圆盘刀能够有效减少土壤的扰动强度,减小开沟时受到的阻力,从而降低了整机单位面积的油耗量。
4.3.6 地轮滑移率测试秸秆粉碎覆盖、整秆覆盖下驱动地轮的滑移率,可得秸秆粉碎覆盖下驱动地轮的滑移率为4.2%,整秆覆盖的滑移率为5.1%。由于整秆覆盖相对于秸秆粉碎覆盖引起的地面不平度要大,驱动地轮行走在地面与秸秆上的不确定因素增加,驱动地轮有时走在整秆上,有时走在地表上引起整秆覆盖下地轮的滑移率比粉碎状态下地轮的滑移率要稍大。通过试验结果可知,2种状态下的地轮滑移率均能满足播种与施肥的质量要求。
5 结论1)采用圆盘刀与限深轮行走装置结合的玉米免耕播种机,作业通过性好,能实现种肥同沟垂直分施,通过双圆盘工作部件的单体仿行与限深轮行走装置的配合作用,确保播深稳定,为解决西南地区地形复杂、播种机具易堵塞这一难题提供了一种可行的方案。
2)微耕机驱动的圆盘刀式玉米免耕播种机采用圆盘刀破茬限深轮行走装置与双圆盘装置联合防堵方案,减少了动力消耗与土壤扰动,采用平面圆盘刀的玉米免耕播种机相对于波纹和缺口圆盘刀,其土壤扰动量分别减少4.03%与1.15%;动力消耗分别减少14.64%与7.51%。
3)在玉米留茬地的试验结果表明,选用波纹圆盘刀的免耕播种机较平面与缺口圆盘刀,其种深分别高8.34%与21.11%;肥深分别高3.81%与8.98%;种肥垂直间距分别低0.07%与0.29%;种肥深度合格率达85%以上,机具播种质量完全满足西南地区玉米免耕播种施肥的农艺要求。
4)驱动地轮滑移率在整秆覆盖与粉碎覆盖情况下分别为5.1%与4.2%,播种质量较稳定,可满足在玉米留茬地播种的均匀性要求。
| [1] |
李晓云, 黄玛兰, 杨柏寒. 长江中下游传统粮棉产区扩大玉米生产的思考[J]. 华中农业大学学报(社会科学版), 2015(2): 58-62. ( 0) |
| [2] |
曾维军, 张建生, 刘淑霞, 等. 云南省耕地自然质量等流域空间分布特征研究[J]. 水土保持研究, 2016, 23(5): 267-273. ( 0) |
| [3] |
顾治家, 白致威, 段兴武, 等. 环境因子对山区粮食气候产量的影响: 以云南省为例[J]. 中国农业气象, 2015, 36(4): 497-505. ( 0) |
| [4] |
陈伟, 朱继平, 陈小兵, 等. 我国坡耕地农业机械化发展现状[J]. 农机化研究, 2017, 39(5): 1-5. ( 0) |
| [5] |
阮建雯, 可斌, 张汝坤, 等. 云南高原特色农业对农机专业合作社的要求[J]. 中国农机化学报, 2014, 35(1): 36-39. ( 0) |
| [6] |
LÓPEZ M V, MORET D, GRACIA R, et al. Tillage effects on barley residue cover during fallow in semiarid Aragon[J]. Soil Till Res, 2003, 72(1): 53-64. DOI:10.1016/S0167-1987(03)00047-3 ( 0) |
| [7] |
GRISSO R B, HOLSHOUSER D, PITMAN R. Planter/drill considerations for conservation tillage systems[M]//MODESTUS J F. Virginia Cooperative Extension, Blacksburg: Virginia Polytechnic Institute and State University. 2009: 442-457.
( 0) |
| [8] |
SIEMENS M C, WILKINS D E, CORREA R F. Development and evaluation of a residue management wheel for hoe-type no-till drills[J]. ASABE, 2003, 47(2): 397-404. ( 0) |
| [9] |
ALTIKAT S, CELIK A, GOZUBUYUK Z. Effects of various no-till seeders and stubble conditions on sowing performance and seed emergence of common vetch[J]. Soil Till Res, 2013, 126(1): 72-77. ( 0) |
| [10] |
JAMES B B, JACK M A D, JOHN M F. Minimising soil disturbance and reaction forces for high speed sowing using bentleg furrow openers[J]. Biosyst Eng, 2016, 151: 53-64. DOI:10.1016/j.biosystemseng.2016.08.025 ( 0) |
| [11] |
廖庆喜, 高焕文, 舒彩霞. 免耕播种机防堵技术研究现状与发展趋势[J]. 农业工程学报, 2004, 20(1): 108-112. ( 0) |
| [12] |
高焕文, 李洪文, 李问盈. 保护性耕作的发展[J]. 农业机械学报, 2008, 39(9): 43-48. ( 0) |
| [13] |
朱惠斌, 李洪文, 何进, 等. 稻茬地双轴驱动防堵式小麦免耕播种机[J]. 农业机械学报, 2013, 44(6): 39-44. DOI:10.6041/j.issn.1000-1298.2013.06.008 ( 0) |
| [14] |
卢彩云, 李洪文, 何进, 等. 小麦免耕播种机浮动支撑式防堵装置[J]. 农业机械学报, 2013, 44(12): 52-55. ( 0) |
| [15] |
王庆杰, 何进, 姚宗路, 等. 驱动圆盘玉米垄作免耕播种机设计与试验[J]. 农业机械学报, 2008, 39(6): 68-72. ( 0) |
| [16] |
郭小锋, 李祥, 陈建, 等. 丘陵山区油菜免耕播种机的设计[J]. 农机化研究, 2011, 33(10): 78-80. ( 0) |
| [17] |
李朝苏, 汤永禄, 解立胜, 等. 2BMFDC–6型稻茬麦半旋播种机设计与性能试验[J]. 西南农业学报, 2011, 24(2): 789-793. ( 0) |
| [18] |
余杨, 杨振杰, 张建生, 等. 不同根部微灌水器对云南红壤和黄沙土水分分布的影响[J]. 农业工程学报, 2015, 31(19): 84-90. ( 0) |
| [19] |
苟文, 马荣朝, 杨文钰, 等. 小麦免耕播种机开沟器的设计[J]. 农业工程学报, 2012, 28(S1): 21-25. ( 0) |
| [20] |
汤永禄, 李朝苏, 吴春, 等. 播种方式对丘陵旱地套作小麦立苗质量、产量及效益的影响[J]. 中国农业科学, 2013, 46(24): 5089-5097. ( 0) |
| [21] |
刘立晶, 杨学军, 李长荣, 等. 2BMG–24型小麦免耕播种机设计[J]. 农业机械学报, 2009, 40(10): 39-43. ( 0) |
| [22] |
朱瑞祥, 李成鑫, 程阳, 等. 被动式圆盘刀作业性能优化试验[J]. 农业工程学报, 2014, 30(18): 47-54. ( 0) |
| [23] |
马洪亮, 高焕文, 魏淑艳. 驱动缺口圆盘玉米秸秆根茬切断装置的研究[J]. 农业工程学报, 2006, 22(5): 86-89. ( 0) |
| [24] |
高焕文, 李洪文, 姚宗路. 我国轻型免耕播种机研究[J]. 农业机械学报, 2008, 39(4): 78-82. ( 0) |
| [25] |
白晓虎, 林静, 吕长义, 等. 免耕播种机圆盘破茬刀工作性能分析与试验[J]. 农业工程学报, 2014, 30(15): 1-9. ( 0) |
| [26] |
KARAYEL D. Performance of a modified precision vacuum seeder for no-till sowing of maize and soybean[J]. Soil Till Res, 2009, 104(1): 121-125. DOI:10.1016/j.still.2009.02.001 ( 0) |
| [27] |
中国农业机械化科学研究院, 农哈哈机械有限公司. 谷物条播机试验方法: GB/T 9478—2005[S]. 北京: 中华人民共和国国家质量监督检验检疫总局, 中国国家标准化管理委员会, 2005: 1-19.
( 0) |
| [28] |
农业部农业机械试验鉴定总站, 甘肃省农业机械鉴定站. 免耕播种机质量评价技术规范: NY/T 1768—2009[S]. 北京: 中华人民共和国农业部, 2009: 1-12.
( 0) |
| [29] |
王行仁. 建模与仿真技术的发展和应用[J]. 机械制造与自动化, 2010, 39(1): 1-6. ( 0) |
| [30] |
郑兆启, 李树君, 王冰, 等. 鲜切果蔬包装机输送机构仿真与试验[J]. 农业机械学报, 2016, 47(7): 252-258. ( 0) |
| [31] |
高有山, 权龙, 黄家海, 等. 轴向柱塞液压马达机械液压耦合仿真分析[J]. 农业机械学报, 2016, 47(5): 395-400. ( 0) |
| [32] |
夏俊芳, 贺小伟, 余水生, 等. 基于ANSYS/LS-DYNA的螺旋刀辊土壤切削有限元模拟[J]. 农业工程学报, 2013, 29(10): 34-41. ( 0) |
| [33] |
廖庆喜, 杨波, 李旭, 等. 内充气吹式油菜精量排种器气室流场仿真与试验[J]. 农业机械学报, 2012, 43(4): 51-54. ( 0) |
| [34] |
胡红, 李洪文, 李传友, 等. 稻茬田小麦宽幅精量少耕播种机的设计与试验[J]. 农业工程学报, 2016, 32(4): 24-32. ( 0) |
| [35] |
SIDHU H S, SINGH M, HUMPHREYS E, et al. The happy seeder enables direct drilling of wheat into rice stubble[J]. Aust J Exp Agr, 2007, 47(7): 844-854. DOI:10.1071/EA06225 ( 0) |
| [36] |
SARAUSKIS E, MASILIONYTE L, ROMANECKAS K, et al. The effect of the disc coulters forms and speed ratios on cutting of crop residues in no-tillage system[J]. Bulg J Agric Sci, 2013, 19(3): 620-624. ( 0) |
| [37] |
刘忠军, 刘立晶, 杨学军, 等. 指夹式玉米免耕精密播种机的设计与试验[J]. 农业工程学报, 2016, 32(S2): 1-6. ( 0) |
| [38] |
河南豪丰机械制造有限公司, 山西省农机试验鉴定站, 西安旋播机厂, 沈阳农业大学. 免耕施肥播种机: GB/T 20865—2007[S]. 北京: 中华人民共和国国家质量监督检验检疫总局, 中国国家标准化管理委员会, 2007: 1-11.
( 0) |
2018, Vol. 39



0)