亚洲柑橘木虱Diaphorina citri Kuwayama(简称柑橘木虱,Asian citrus psyllid)属于半翅目Hemiptera木虱科Psyllidae,是柑橘产业重要病害柑橘黄龙病病菌CandidatusLiberibacter asiaticus的主要媒介昆虫[1]。目前,鉴于柑橘黄龙病的防治尚未发现有效化学药剂,因此防控柑橘木虱是控制柑橘黄龙病传播的重要措施[1-2]。21世纪以来利用昆虫行为对害虫进行防治越来越得到人们的关注[3]。视觉信息中颜色是植食性昆虫寄主选择行为的重要因素,由此发展起来的黄板、诱虫灯等方法干扰害虫的寄主选择行为在害虫综合防治中得到广泛应用[4]。昆虫趋光行为是复眼对特定光源产生的趋向行为[5]。昆虫因进化过程不同在趋光行为方面具有差异,棉铃虫Heliothis armigera在紫外340~360 nm处具有较强的趋光性,在蓝光483 nm处也有趋性峰值[6];蓟马Caliothrips phaseoli趋性峰值在紫外315 nm处[7];锈赤扁谷盗Cryptolestes ferrugineus的趋光敏感光波是351 nm[8]。利用害虫敏感光谱特异性选择特定波长光源减少对天敌昆虫的伤害,因此,利用趋光性对害虫行为进行干扰达到保护农作物的效果具有很好的发展空间。昆虫趋光性与其特殊的视觉系统有关,复眼是昆虫视觉系统中感受外界信号的重要器官[9]。昆虫的复眼是进化保守且结构复杂的器官,其结构影响着视觉方面的相关功能[10]。地球的自转产生白天和黑夜2种不同的光环境,昆虫复眼为适应此变化产生了相应的反应机制[11]。目前国内外对一些重要的农林业害虫以及天敌昆虫的复眼结构进行了大量的研究,包括棉铃虫 [12]、橘小实蝇Bactrocera dorsalis[13]、螺旋粉虱Aleurodicus dispersus[14]等。在趋光性和复眼结构方面研究较多的是鳞翅目[6, 15]。半翅目特别是柑橘木虱成虫趋光性[16]和复眼结构方面研究鲜见报道。本文以柑橘木虱成虫为研究对象测定了成虫对不同光源的趋光性,利用扫描电镜和组织切片对成虫复眼的形态和显微结构进行了观察,探索柑橘木虱的复眼结构及其在光适应和暗适应下的结构变化,为阐明其趋光机制和发展柑橘木虱非化学防控技术奠定基础。
1 材料与方法 1.1 材料 1.1.1 供试昆虫柑橘木虱成虫采自广州市华南农业大学校园(23°15’N,113°38’E)九里香植株上。捕获的成虫释放至人工气候箱内,用健康九里香植株饲养。人工气候箱条件:光周期16 h光∶8 h暗,温度(26±1) ℃,相对湿度60 %~70 %。
1.1.2 主要仪器光照度为1 000 lx的LED灯(深圳春达鑫光电有限公司),包括紫外(365~370 nm)、蓝光(470~475 nm)、绿光(520~525 nm)、红光(620~630 nm)、黄光(590~592 nm)和白光。凤凰BMC500显微镜,场发射扫描电镜(JSM-7001F),Motic®K-7001L体式解剖显微镜。
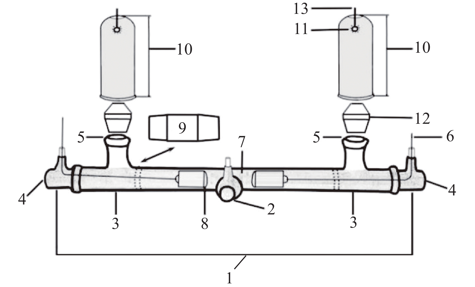
趋光行为反应装置使用自行设计的装置(图1),该装置主要由昆虫行为选择管和光陷阱组成。
|
图 1 趋光行为反应装置 Fig. 1 Phototactic test instrument 1:昆虫趋光行为选择管;2:供试昆虫释放口;3:选择臂;4:臂端控制口;5:趋光行为选择口;6:控制绳;7:供试昆虫栖息室;8:活动限制子;9:部件连接装置;10:光源陷阱装置;11:光源;12:陷阱连接装置;13:电源 1: The main phototactic tube; 2: The entrance of insects; 3: The selection arm; 4: The entrance of control rope; 5: The phototactic selection window; 6: The control rope; 7: The habitat room of insects; 8: The control factor of habitat room size; 9: The connector of instrument; 10: The catching jar; 11: The LED; 12: The connector of catching jar; 13: The power |
选取健康成虫30头进行试验,为使柑橘木虱复眼处于相同状态,趋光试验前将柑橘木虱进行暗处理2 h。暗处理后将柑橘木虱放入趋光装置的栖息室,5 min后打开对照光源(白光)和试验光源(不同光波)进行选择性试验,测定时间为15 min,反应结束后记录进入光陷阱的虫数,计算趋光率,每组重复3次。
| $ {\text{趋光率}}=({\text{光陷阱虫数}}/{\text{试验总虫数}}) \times 100{\text{%}} {\text{。}} $ |
复眼外部和内部形态观察参考Chen等[17]的方法,将雌雄成虫各40头用CO2麻醉后在生理盐水中用体式镜进行解剖,然后在φ为2%多聚甲醛−2.5%戊二醛固定过夜,0.1 mol/L磷酸缓冲液漂洗6次后,梯度乙醇溶液(φ分别为30%、50%、70%、90%、100%)脱水,然后依次在体积比为1∶3、1∶1、3∶1、1∶0的叔丁醇–乙醇梯度溶液中进行脱乙醇;将样品放至–50 ℃真空冷冻干燥机中冷冻干燥12 h。干燥后样品根据观察目的摆放至样本台,将摆放好的样品进行喷金,最后在扫描电镜(JSM-7001F)下观察。
1.2.3 柑橘木虱复眼组织切片观察成虫分成2组,将雌雄成虫各30头置于光照条件和黑暗条件下(即光适应和暗适应)4 h。将处理后的柑橘木虱用CO2麻醉后快速用手术刀切除头部放入波恩固定液(1 g苦味酸溶入75 mL的蒸馏水中后加入5 mL冰乙酸和25 mLφ为40%甲醛),然后梯度乙醇溶液(φ分别为30%、50%、70%、90%、100%)脱水,脱水完成后用二甲苯透明,随后石蜡包埋,然后用莱卡石蜡切片机制成4 µm的石蜡切片并进行H-E染色中性树胶封片。在凤凰BMC500光学显微镜下观察和拍照。
1.2.4 数据处理应用SPSS23.0对试验数据进行统计,选用独立样本t检验分析不同光波与白光之间的显著性;小眼个数用软件Image J进行计数。
2 结果与分析 2.1 柑橘木虱成虫对不同波长光的趋光性通过对柑橘木虱的趋光行为研究发现,成虫对不同波长的LED灯光源的趋光率具有差异(图2):柑橘木虱对于紫外光(365~370 nm)的趋光率为66.62%~71.38%,蓝光(470~475 nm)的趋光率为47.17%~50.88%,绿光(520~525 nm)的趋光率为39.37%~44.26%,黄光(590~592 nm)的趋光率为28.18%~31.32%,红光(620~630 nm)的趋光率为14.68%~18.33%。t检验结果表明,柑橘木虱对紫外光、蓝光和绿光的趋光率均显著高于白光(P<0.05),红光和黄光的趋光率与白光之间没有显著性差异。
|
图 2 柑橘木虱趋光行为 Fig. 2 Phototactic behavior response of Diaphorina citri adults 1:白光,2:紫外光(365~370 nm),3:蓝光(470~475 nm),4:绿光(520~525 nm),5:红光(620~630 nm),6:黄光(590~592 nm);“*”表示与白光差异显著(P<0.05,t检验) 1: White light, 2: Ultraviolet (365~370 nm), 3: Blue light (470~475 nm), 4: Green light (520~525 nm), 5: Red light (620~630 nm), 6: Yellow light (590~592 nm); “*” meaned significant difference compared with white light (P<0.05, t test) |
柑橘木虱成虫具有1对复眼和3个单眼,复眼呈半球形位于头部两侧紧挨触角基部,侧单眼位于复眼后方,背单眼位于额缝线连接处(图3A)。通过对比雌雄成虫复眼外部形态发现,雌雄成虫复眼外部形态没有明显差异。小眼在复眼中心区域排列紧密呈六边形向外微凸,位于复眼边缘的小眼呈近圆形(图3B、3D);通过测量柑橘木虱复眼外部形态结构发现,柑橘木虱雄性成虫小眼的直径为9.84~10.83 µm,每个复眼由238~252个单眼组成;柑橘木虱雌性成虫小眼平均直径为10.20~11.49 µm,每个复眼由225~254个单眼组成。雄性柑橘木虱复眼长轴为165.12~172.36 µm,短轴为130.62~147.78 µm;雌性柑橘木虱复眼长轴为152.05~157.15 µm,短轴为128.36~136.48 µm。整个复眼表面光滑没有感觉毛,但是复眼外缘具有感受器。
|
图 3 柑橘木虱成虫复眼外部形态 Fig. 3 The external morphology of compound eyes of Diaphorina citri adults A:成虫头部,B:复眼,C:侧单眼,D:边缘小眼;Ant:触角,do:背单眼,CE:复眼,lo:侧单眼,om:小眼 A: Head of D. citri adult, B: Compound eyes, C: Lateral ocellus, D: Ommatidium at the edge of compound eyes; Ant: Antenna, do: Dorsal ocellus, CE: Compound eyes, lo: Lateral ocellus, om: Ommatidium |
柑橘木虱复眼内部显微形态和显微结构通过扫描电镜和组织切片获得(图4)。成虫的复眼结构主要是由角膜、晶锥、视网膜细胞、基膜和色素细胞组成。角膜位于小眼远心端,扫描电镜观察角膜由层状结构堆积而成,角膜外部的层状结构厚度较厚且排列紧密,角膜内部的组成部分不仅厚度小而且排列不紧密(图4B);角膜的内表面有一个圆形的凹陷,直径为8.23~8.62 µm,每个凹陷之间具有一定的距离(图4C);组织切片可以看出,角膜染色不均匀、外部颜色浅、内部颜色深(图5C)。
晶锥位于角膜的下方,由扫描电镜观察可知晶锥呈圆锥形,晶锥质地致密且表面光滑,周围被色素细胞包围(图4D)。角膜直接与晶锥相连(图5C),晶锥最大直径为5.61~6.24 µm、长度为13.43~14.21 µm,晶锥和角膜组成柑橘木虱小眼的屈光系统。
视杆是视网膜细胞分泌物特化形成的,呈棒状结构,直接与晶锥相连,视杆呈弧形伸到视叶区(图5A、5C),视杆长度为65.43~66.76 µm;视杆周围由颜色较深的色素细胞包裹(图5C),视杆外围分布着视网膜细胞且呈束状排列(图4E),从复眼横切可以看出8个视网膜细胞在视杆外呈圆形包围(图5G)。
基膜位于复眼的近心端,将复眼的感光区域和视神经系统分开,且周围分布着大量的色素细胞(图5H),基膜由质地疏松的结构组成,并且表面具有较多孔状结构(图4F),视网膜细胞穿过基膜后发生变化,形成可以传导信号的神经轴突,这些神经轴突将视觉信号传递到视觉处理中心视叶(图5A)。视叶是视觉信号的第一处理中心,由图5A可知,视叶由神经节层、髓质和小叶复合体组成,视叶是由大部分神经胶质组成,神经胶质的细胞核聚集在视叶周围。
|
图 4 柑橘木虱成虫复眼内部形态 Fig. 4 The internal morphology of compound eyes of Diaphorina citri adults A:复眼内部,B:角膜,C:角膜内表面,D:晶锥细胞,E:视杆远心端,F:基膜,RC:视网膜细胞,Cr:角膜,CC:晶锥细胞,BM:基膜 A: Internal of compound eyes, B: Cornea, C: Internal surface of the cornea, D: Crystalline cone, E: Distal of rhabdom, F: Basement membrane; RC: Retinula cell, Cr: Cornea, CC: Crystalline cone, BM: Basement membrane |
从柑橘木虱成虫复眼纵切(图5H~F)可以看出,在不同外界条件下小眼周围色素颗粒的分布情况发生改变:在光适应条件下,色素颗粒均匀地分布在视杆和晶锥周围,基膜附近的色素颗粒较多;在暗适应的条件下,色素颗粒主要分布在晶锥周围和视杆的近心端,基膜附近的色素可以发生移动,基膜附近颜色变浅。晶锥和视杆之间直接连接处由色素细胞包围,属于并列相眼。
|
图 5 柑橘木虱复眼组织切片光镜观察 Fig. 5 Histological sections of compound eyes of Diaphorina citri adults A:复眼,B:小眼,C:复眼纵切,D:角膜横切,E:复眼远心端横切,F:复眼近心端横切,G:视网膜细胞横切,H:光适应下复眼内部,I:暗适应下复眼内部;lo:侧单眼,BM:基膜,La:神经节层,Me:髓质层,Lox:小叶复合体,CC:晶体,Cr:角膜;RC:视网膜细胞(圆圈示8个视网膜细胞) A: Compound eyes, B: Ocellus, C: Longitudinal profile through compound eyes, D: Transverse section of cornea, E: Transverse section of compound eyes’ distal, F: Transverse section of compound eye proximal, G: Transverse section of retinula cell, H: The structure of compound eyes treated by light, I: The structure of compound eyes treated by dark; lo: Lateral ocellus, BM: Basement membrane, La: Lamina, Me: Medulla, Lox: Lobular complex, CC: Cystalline cone, Cr: Cornea, RC: Retinula cell (Circle showed eight retinula cells) |
光线不仅在昆虫的寄主选择中起介导作用,而且在昆虫交配、迁飞和躲避天敌等方面也有着重要的作用[18]。该研究通过比较柑橘木虱对不同波长LED的趋光率发现,与白光相比,柑橘木虱更偏向于紫外光(365~370 nm)、绿光(520~525 nm)和蓝光(470~475 nm),特别是比较趋向于紫外光。本研究发现蓝光和绿光波长范围与林雄杰等[16]发现柑橘木虱对蓝光(454~479 nm)和绿光(509~542 nm)结果相似。已有研究发现柑橘木虱在去除紫外光的自然光条件下,严重影响柑橘木虱起飞和搜寻寄主植物的能力[19],表明紫外光在柑橘木虱的寄主选择行为中起重要的作用。应用诱板时可将紫外光源与诱板结合以提高诱捕效率。
复眼是昆虫感受外界环境重要的视觉器官。昆虫为适应外界环境而保留的生活习性、行为方式和系统发育特点在复眼结构也有一定差异[20]。复眼的结构不仅具有种间差异而且有时具有雌雄异构型。研究者发现在小眼个数方面:雌性华山松大小蠹Dendroctonus armandi小眼个数多于雄性的[21]。本研究发现柑橘木虱雄性成虫的复眼中有238~252个单眼,雌性成虫复眼中为225~254个单眼,雌雄成虫复眼在数量上没有明显差异。
昆虫小眼的形状在不同种类昆虫之间具有一定的差异性,有些昆虫的小眼呈规则的六边形,有些呈肾形,并且在同一复眼中小眼所在区域不同、形状也有差异[22]。据报道大部分夜行性昆虫的小眼面向外边凸出,日行性昆虫的小眼微凹或略平坦[23]。柑橘木虱属于日行性昆虫,本研究发现柑橘木虱复眼位于中央区域的小眼呈六边形、位于边缘的小眼呈近圆形,小眼面微凸。
昆虫复眼表面具有辅助结构,辅助结构的种类会因昆虫种类的改变而改变。红火蚁Solenopsis invicta的复眼外部覆盖着圆形凸起,该结构可能能够减少光的反射以增加进入复眼的光量[24];有些昆虫的复眼之间有感觉毛,感觉毛在昆虫飞行中起着感受风速和飞翔调控的作用[25]。本研究发现柑橘木虱复眼的外部表面光滑,没有覆盖物和感觉毛存在,这有可能与其行动能力弱且不善于飞行有关。
角膜作为小眼远心端的一部分,主要将光线聚集并且向后传输。通过扫描电镜对柑橘木虱复眼角膜的观察发现,角膜是由质地不同的层状结构组成,这与黑带食蚜蝇Episyrphus balteatus[26]相似。研究表明角膜的质地不同对不同光的吸收率也不同,可以将不同的光聚集到不同的位置[27]。角膜下方晶锥细胞是由森氏细胞分泌形成的,研究发现美国白蛾Hyphantria cunea等昆虫通过控制晶锥闭合和开裂对进入晶锥的光亮进行调节[28]。本文对柑橘木虱光暗适应下晶锥进行观察没有发现较为明显的差异。
昆虫的视网膜细胞一般是聚集成束分布在视杆的周围,从晶体一直延伸至复眼近心端。通过扫描电镜和组织切片对柑橘木虱复眼内部结构观察发现,小眼的视网膜细胞呈弧形连接着晶体和基膜,且从远心端到近心端直径逐渐变小,这与黑带食蚜蝇的视杆变化规律[26]相似。
柑橘木虱的基膜位于复眼的近心端,基膜将小眼和视神经隔开,研究发现基膜和下方具有一段空白区域,且空白区域属于粗大的气管,可为昆虫在日常活动中提供充足的氧气,减轻昆虫的体质量,有利于减少昆虫在飞行中消耗能量[28]。
昆虫通过控制视杆周围的色素细胞的移动对进入小眼的光量进行调节,以适应在不同光环境下进行更好的生存[29]。研究发现,柑橘木虱在光适应条件下位于视杆周围的色素细胞均匀地分布在视网膜细胞周围;但是在暗适应条件下色素细胞移至晶锥细胞周围。明暗适应不仅影响视杆周围的色素细胞而且影响基膜上的色素细胞:在光适应条件下基膜上的色素细胞发生聚集,而暗适应条件下基膜处的色素向远心端移动,这种现象的存在可能是因为色素的移动能够吸收未被虹膜色素细胞吸收的光,保证光信号在传导过程中的准确传递[28]。
根据光学重叠理论复眼可以分为并列相眼和重叠相眼[30]。柑橘木虱小眼视杆的远端部分被晶锥细胞的近端部分包围着,属于并列相眼的典型特征。这种结构广泛存在于日行性昆虫中,如螺旋粉虱Aleurodicus disperses[13]和橘小实蝇[12]等。此结构拥有较高的空间分辨率但受限于透镜的大小,导致光敏感性较差[31],较适于日行性昆虫的环境。这与室外观察到柑橘木虱成虫在白天活动的生活习性一致。
复眼为昆虫的主要光感器官,其形态和结构特征在一定程度上决定着昆虫的生理特性和行为习性。已有研究表明昆虫对某一波长的光趋性强弱与昆虫对该波长的光耐受能力有关,当昆虫对某一波长的光耐受力弱时色素细胞分布发生变化较大,导致昆虫对该波长的光具有较强的趋光性[32]。复眼中的光感受器是昆虫趋光行为的生理基础,视网膜细胞上的跨膜视蛋白决定光感受器的光谱敏感性[5]。本文对柑橘木虱成虫趋光性和复眼的结构做了初步研究,为了进一步深入了解其趋光行为的机制,今后需要在视网膜电位和趋光相关的分子机制等方面进行更多的研究。
| [1] |
GRAFTON-CARDWELL E E. Biology and management of Asian citrus psyllid, vector of the Huanglongbing pathogens[J]. Annu Rev Entomol, 2013, 58(1): 413-432. DOI:10.1146/annurev-ento-120811-153542 ( 0) |
| [2] |
邓明学, 陈贵峰, 唐明丽, 等. 黄色粘胶板诱杀柑桔木虱成虫田间试验初报[J]. 中国农学通报, 2010(12): 247-251. ( 0) |
| [3] |
YAN H, ZENG J, ZHONG G. The push-pull strategy for citrus psyllid control[J]. Pest Manag Sci, 2015, 71(7): 893-896. DOI:10.1002/ps.3915 ( 0) |
| [4] |
HALL D G, SÉTAMOU M, MIZELL R F. A comparison of sticky traps for monitoring Asian citrus psyllid (Diaphorina citri Kuwayama)
[J]. Crop Prot, 2010, 29(11): 1341-1346. DOI:10.1016/j.cropro.2010.06.003 ( 0) |
| [5] |
边磊, 孙晓玲, 高宇, 等. 昆虫光趋性机理及其应用进展[J]. 应用昆虫学报, 2012, 49(6): 1677-1686. ( 0) |
| [6] |
魏国树, 张青文, 周明牂, 等. 棉铃虫蛾复眼光反应的时间特征及昼夜节律[C]//中国昆虫学会2000年学术年会论文集. 北京: 中国科学技术出版社, 2000: 152-155.
( 0) |
| [7] |
MAZZA C A, IZAGUIRRE M M, CURIALE J, et al. A look into the invisible: Ultraviolet-B sensitivity in an insect (Caliothrips phaseoli) revealed through a behavioural action spectrum
[J]. Proc Biol Sci, 2010, 277(1680): 367-373. DOI:10.1098/rspb.2009.1565 ( 0) |
| [8] |
郭健玲, 梁桥新, 曾伶, 等. 3种扁谷盗对不同波长光趋性研究[J]. 华南农业大学学报, 2016, 37(3): 90-94. ( 0) |
| [9] |
沈颖, 尉吉乾, 莫建初, 等. 昆虫趋光行为研究进展[J]. 河南科技学院学报(自然科学版), 2012, 40(5): 19-23. DOI:10.3969/j.issn.1008-7516.2012.05.005 ( 0) |
| [10] |
FRIEDRICH M, DONG Y, JACKOWSKA M. Insect interordinal relationships: Evidence from the visual system[J]. Arthropod Syst Phylo, 2006, 64(2): 133-148. ( 0) |
| [11] |
杨余兵. 光、温湿度对柑桔木虱发育、繁殖与存活的影响[J]. 生态学报, 1989, 9(4): 348-354. DOI:10.3321/j.issn:1000-0933.1989.04.005 ( 0) |
| [12] |
高慰曾, 郭炳群. 棉铃虫蛾复眼的形态及显微结构[J]. 昆虫学报, 1983, 26(4): 375-378. ( 0) |
| [13] |
刘欢, 邓淑桢, 赵晓峰, 等. 橘小实蝇成虫复眼结构及感光机制[J]. 华南农业大学学报, 2017, 38(2): 75-80. ( 0) |
| [14] |
时艳华, 吴伟坚, 符悦冠. 螺旋粉虱成虫的复眼形态及其内部结构[J]. 环境昆虫学报, 2010, 32(1): 41-46. DOI:10.3969/j.issn.1674-0858.2010.01.007 ( 0) |
| [15] |
VAN GEFFEN K G, VAN ECK E, DE BOER R A, et al. Artificial light at night inhibits mating in a geometrid moth[J]. Insect Conserv Diver, 2015, 8(3): 282-287. DOI:10.1111/icad.2015.8.issue-3 ( 0) |
| [16] |
林雄杰, 范国成, 胡菡青, 等. 适配太阳能诱虫器诱杀柑橘木虱LED光源的筛选[J]. 植物保护, 2013, 39(4): 52-55. DOI:10.3969/j.issn.0529-1542.2013.04.011 ( 0) |
| [17] |
CHEN Q, HUA B. Ultrastructure of dorsal ocelli of the short-faced scorpionfly Panorpodes kuandianensis (Mecoptera: Panorpodidae)
[J]. Micron, 2014, 59: 8-16. DOI:10.1016/j.micron.2013.12.004 ( 0) |
| [18] |
BIRD S, PARKER J. Low levels of light pollution may block the ability of male glow-worms (Lampyris noctiluca L.) to locate females
[J]. J Insect Conserv, 2014, 18(4): 737-743. DOI:10.1007/s10841-014-9664-2 ( 0) |
| [19] |
MIRANDA M P, DOS SANTOS F L, FELIPPE M R, et al. Effect of UV-blocking plastic films on take-off and host plant finding ability of Diaphorina citri (Hemiptera: Liviidae)
[J]. J Eco Entomol, 2015, 108(1): 245-251. DOI:10.1093/jee/tou036 ( 0) |
| [20] |
BUSCHBECK E K. Escaping compound eye ancestry: The evolution of single-chamber eyes in holometabolous larvae[J]. J Exp Biol, 2014, 217(16): 2818-2824. DOI:10.1242/jeb.085365 ( 0) |
| [21] |
张晓瑜, 马俊宁, 陈辉. 华山松大小蠹成虫复眼的外部形态及显微结构[J]. 西北农林科技大学学报(自然科学版), 2015, 43(9): 109-115. ( 0) |
| [22] |
CHEN Q, WEI Y, HUA B. Fine structure of the ommatidia of the short-faced scorpionfly Panorpodes kuandianensis (Mecoptera: Panorpodidae)
[J]. Microsc Res Techniq, 2013, 76(8): 862-869. DOI:10.1002/jemt.22240 ( 0) |
| [23] |
史留功, 朱命炜, 陈广文, 等. 几种节肢动物复眼的扫描电镜观察[J]. 信阳师范学院学报(自然科学版), 1997, 17(2): 85-87. ( 0) |
| [24] |
LITINETSKY L, BARKAY Z, KALICHARAN D, et al. AFM study of microstructures on the cornea of the compound eye and ocelli of the hornet Vespa orientalis (Insecta, Hymenoptera)
[J]. Physiol Chem Phys Med NMR, 2002, 34(1): 61-69. ( 0) |
| [25] |
LAU T F S, OHBA N, ARIKAWA K, et al. Sexual dimorphism in the compound eye of Rhagophthalmus ohbai (Coleoptera: Rhagophthalmidae): II: Physiology and function of the eye of the male
[J]. J Asia-Pac Entomol, 2007, 10(1): 27-31. DOI:10.1016/S1226-8615(08)60327-1 ( 0) |
| [26] |
张胜杰, 范凡, 李娜, 等. 黑带食蚜蝇Episyrphus balteatus De Geer的复眼结构及其调光机制
[J]. 应用昆虫学报, 2015, 52(3): 750-758. ( 0) |
| [27] |
MCINTYRE P, KIRSCHFELD K. Chromatic aberration of a dipteran corneal lens[J]. J Comp Physiol A, 1982, 146(4): 493-500. DOI:10.1007/BF00609445 ( 0) |
| [28] |
陆苗, 范凡, 耿硕, 等. 美国白蛾成虫复眼的外部形态及显微结构观察[J]. 林业科学, 2013, 49(4): 85-89. ( 0) |
| [29] |
高慰曾, 李世文, 侯无危. 桃小食心虫复眼对不同光源的反应[J]. 昆虫知识, 1993(1): 20-21. ( 0) |
| [30] |
金菲, 颜忠诚. 昆虫的复眼[J]. 生物学通报, 2012, 47(12): 4-6. DOI:10.3969/j.issn.0006-3193.2012.12.002 ( 0) |
| [31] |
NILSSON D E, ODSELIUS R, ELOFSSON R. The compound eye of Leptodora kindtii (Cladocera): An adaptation to planktonic life
[J]. Cell Tssue Res, 1983, 230(2): 401-410. ( 0) |
| [32] |
高慰曾. 夜蛾趋光特性的研究: 复眼反应与行为反应的相关现象[J]. 昆虫学报, 1976, 19(1): 59-62. ( 0) |
2019, Vol. 40



0)