2. 楚天科技股份有限公司, 湖南 长沙 410600
2. Chutian Technology Limited Company, Changsha 410600, China
三七 Panax notoginseng是名贵中药材,主产于云南。三七栽培需先育苗再移栽,育苗农艺要求非常特殊,一是播种行株距均为50 mm、播种深度为10 mm,属于超精密播种[1],二是种床为特殊土壤,由云南红壤土和蔗渣、有机质、生物质炭、矿物土壤调理剂等按特殊比例混合制成(下文中土壤和基质皆为此特殊土壤)。覆土镇压作业质量对优质种苗培育有至关重要的作用[2-3],而目前三七覆土、镇压基本是人工模式,存在作业成本高、覆土厚度不一致、基质压实程度不均匀、效率低下等问题。设计一种覆土镇压装置代替人工作业,对优质三七种苗培育具有重要意义。
目前国内外学者对覆土、镇压装置进行了大量研究。现有的覆土、镇压装置多为覆土、镇压分体式结构,对集覆土、镇压功能一体的装置研究较少,常见的覆土镇压器为挤压式覆土镇压器,但其挤土轮与土壤接触面积较小,土壤黏附量较大,覆土和镇压作业稳定性不佳[4-6],侯守印等[7]设计的弹性螺旋式覆土镇压器虽然可以减少土壤黏附量,但其结构相对复杂,不适用于窄行株距的三七播种。在覆土镇压过程中,仿形机构可控制镇压均匀度和强度的稳定性,现有后置仿形、液压仿形和弹簧压缩水平仿形等机构[8],赵淑红等[9]设计了可调节镇压力的双向仿形镇压装置,能实现横向和纵向仿形,镇压均匀性好,为本文提供了一定的参考。随着土壤本构模型的不断完善和计算机计算能力的提高,仿真分析在农机触土部件与土壤相互作用的研究中应用得越来越广泛。离散元法能有效模拟土壤颗粒和触土部件间的微观、宏观变形,能直观反映触土部件与土壤颗粒的相互作用、土壤颗粒对种子的扰动行为以及种子的运动过程,因此适用于研究覆土镇压过程[10-13]。现有覆土镇压器主要针对大田大行株距作物,不适用于小行株距、浅播深的三七育苗播种,故设计一种适合三七播种的覆土镇压器是十分必要的。
本文针对密集型种沟,设计集覆土、镇压功能为一体的覆土镇压装置。通过田间试验确定适宜优质三七种苗培育的最佳紧实度范围;通过动力学分析设计覆土镇压装置关键结构参数;借助EDEM软件分析覆土镇压效果;以开沟深度、播种机前进速度为试验因素,以覆土厚度及覆土厚度一致性为试验指标开展土槽试验,验证最优参数组合下镇压力大小、覆土厚度是否满足三七育苗播种时基质紧实度和覆土厚度的农艺要求。
1 基质湿度、紧实度对出苗率及种苗品级的影响土壤紧实度对根茎类作物有重要影响,合理的土壤紧实胁迫可以控制主、侧根的长度、直径和生长方向,利于优质三七种苗培育[14-17]。播种时基质湿度会影响机械化作业效果进而影响出苗率,因此本研究同时开展基质湿度、基质紧实度对三七种子出苗率及三七种苗品级影响试验,找到种苗培育的最佳基质湿度和紧实度范围,为覆土镇压装置设计提供依据。
1.1 试验设计我们连续3年对三七育苗基地的特殊基质育苗期的紧实度进行了采样统计,基质紧实度范围为100~600 kPa,但集中度不明显。另外,根据农艺要求,三七播种时基质湿度一般要求在15%~35%[8]。因此本试验选取3个基质湿度水平:15%、25%和35%,使用土壤水分测量仪测量,并根据测量数据,用浇水壶逐步控制湿度;6个基质紧实度水平:0、200、400、600、800、1 000 kPa,使用紧实度测量仪测量,测量深度为10 cm,人工镇压使基质达到所需紧实度;共18组试验,每组试验土槽长度均为300 mm,为排除偶然性,另外设置2组重复试验。4月份出苗整齐后,用全额计数法统计出苗率;待年底种苗收获时,借助WinRHIZO根系分析仪(航信科学仪器有限公司)测量统计种苗品级。试验设备如图1所示。
|
图 1 试验装置 Fig. 1 Test device |
按图2中所示的位置在每个试验基质块(1.44 m×3.00 m)上标记6个点,在以每个点为中心,半径为0.2 m的圆内任取3处使用土壤水分测量仪进行湿度测量。
|
图 2 土壤含水率测量 Fig. 2 Soil moisture content measurement 数字表示湿度测定点 Numbers present humidity measuring points |
设置湿度水平为15%、25%和35%,用土壤水分测量仪测量原始湿度,根据测量数据,用浇水壶逐步控制湿度,读数小于15%时,继续浇水微调并翻土混合,读数超过15%时,混合干燥基质后用土壤水分测量仪测量读数,调整到湿度为15%左右。25%、35%湿度水平如上述方法进行调整。
1.2.2 土壤紧实度测量和控制按图3中所示的位置在每个试验基质块(1.44 m×0.50 m)上标记3个点,在以每个点为中心,半径为0.2 m的圆内任取3处使用紧实度测量仪进行紧实度测量,测量深度为10 cm。
设置紧实度水平 0、200、400、600、800、1000 kPa,对应每种湿度取6个基质块(1.44 m×0.50 m)用紧实度测量仪测量,人工镇压,测量数据未超过200 kPa时,继续镇压测量,调整到200 kPa左右。测量数据超过200 kPa时,人工松土再镇压测量逐步调整到200 kPa,土壤紧实度400、600、800、1000 kPa均如上述方法进行调整。
|
图 3 土壤紧实度测量 Fig. 3 Soil compactness measurement 数字表示测定点 Numbers present compactness measuring points |
4月份出苗整齐时,采集出苗阶段长势情况,并统计种子出苗率,局部出苗情况如图4所示。
|
图 4 不同紧实度的三七种子出苗图 Fig. 4 Seed emergence diagram of Panax notoginseng under different soil compactness |
统计分析得出各湿度和紧实度下种子出苗率均值如图5所示,由图5可知,所有基质湿度下,基质无镇压时三七出苗率无明显差异,紧实度高于600 kPa时,三七出苗率均出现下降趋势;在25%、35%基质湿度下,当紧实度处于400~600 kPa时,三七出苗率出现下降趋势;在15%、25%基质湿度下,基质紧实度处于200~400 kPa较无镇压下三七出苗率有所提高,在35%基质湿度下,基质紧实度处于200~400 kPa较无镇压下三七出苗率较稳定。综合可得,在相同基质湿度下,三七出苗率最佳基质紧实度范围为200~400 kPa。
|
图 5 不同土壤湿度和紧实度的出苗率 Fig. 5 Seedling emergence rate under different soil humidity and compactness |
年底种苗收获时,按不同组数每小组随机挖取30株种苗,种苗标准参考文献[18],3种基质湿度、6种基质紧实度、3组对照试验区下共采集1620株种苗进行分级,测量、记录种苗质量、主根长度、种苗直径、休眠芽直径和根须数,得到三七种苗各项统计指标,如表1所示。
|
|
表 1 三七种苗各项指标统计 Table 1 Index statistics of Panax notoginseng seedlings |
单株质量变异系数最大;以单株质量为参考,对三七种苗各项指标做相关性分析,得到三七种苗主根长、种苗直径、休眠芽直径、根须数与单株质量的相关系数分别为0.69、0.47、0.86和0.76。
根据ISO 20408—2017 中药−三七种子和幼苗国际标准三七种苗品级分级标准[19],对不同湿度、不同紧实度下的三七种苗进行分级,结果如表2所示。由表2可知,育苗期其他条件相同,在基质湿度为25%,紧实度为200~400 kPa时,二级种苗占比较高,三七种苗品级较好,此时,二级种苗占27.8%、三级种苗占60.5%、三级以下种苗占11.7%。综合考虑出苗率及种苗品级试验结果,覆土镇压辊的镇压力大小按200~400 kPa设计,进行土槽试验时基质湿度控制在25%左右。
|
|
表 2 不同土壤湿度和紧实度下三七种苗分级比例 Table 2 Grading proportions of Panax notoginseng seedlings under different soil humidity and compactness |
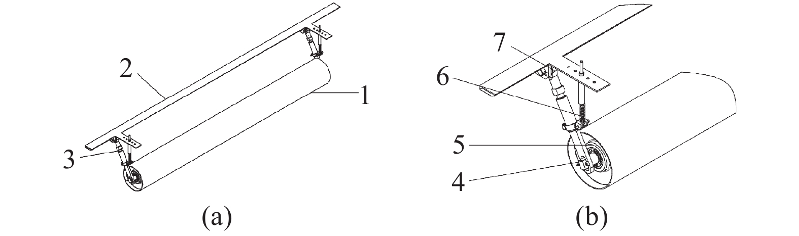
覆土镇压是育苗播种的最后工序,镇压力应能满足优质三七种苗培育的紧实度要求。三七播种前,开沟轮开出的v型种沟如图6所示。覆土镇压装置整体结构主要由覆土镇压辊、固定支架、支撑杆和球形链接等组成,覆土镇压辊与播种机链接处采用开口销链接以方便拆卸,结构示意图如图7所示,为减少覆土镇压辊的前进阻力、保证v型沟槽顶端基质被镇压后地表平整,镇压辊设计成光滑型表面,作业时,覆土镇压轮随播种机滚动前进,在重力和弹簧力的作用下完成覆土和镇压。
|
图 6 播种前开沟效果图 Fig. 6 Effect diagram of ditching before planting |
|
图 7 覆土镇压装置结构简图 Fig. 7 Schematic diagram of the structure of the soil covering and compacting device 1:覆土镇压辊;2:固定支架;3:支撑杆;4:转动轴;5:轴承;6:压力弹簧;7:球形链接 1: Covering roller; 2: Fixing bracket; 3: Supporting rod; 4: Rotating shaft; 5: Bearing; 6: Pressure spring; 7: Spherical link |
农艺上三七育苗槽一般宽度为1500 mm,考虑中间50 mm行距和两侧25 mm安装间隙,故覆土镇压辊宽度设计为1400 mm。
覆土镇压辊直径大小直接影响覆土镇压效果及镇压轮的滑移率,镇压辊直径太小,作业过程会产生滑移,出现拖土壅土现象[20],影响覆土镇压效果;反之,镇压辊直径越大,可减小作业过程中的滑移现象,覆土镇压效果好,但制作成本会增加,整机稳定性也会受限。适宜的镇压辊直径应结合作业过程的受力情况进行设计。
2.3 覆土镇压辊工作过程受力分析在镇压辊配重相同的情况下,若镇压辊直径越大,其滚动阻力越小,滑移率和壅土阻力也会适当减小[21]。为保证镇压辊正常转动和不滑移,覆土镇压辊直径(D)应满足[7]:
| $D \geqslant \dfrac{{2{M_{\rm{r}}}}}{{G\mu }},$ | (1) |
式中:μ为土壤与覆土镇压辊之间的摩擦系数;G为覆土镇压辊的重力及其附加载荷,N;Mr为轴套中的摩擦力矩,N·m。
由式(1)可知,覆土镇压辊最小直径与轴套中摩擦力矩、土壤对覆土镇压辊的摩擦系数和镇压力等有关,在轴套中摩擦力矩和摩擦系数确定的情况下,为保证覆土镇压质量,同时控制成本,应在农艺要求范围内提高镇压力。
2.4 覆土镇压辊滚动条件覆土镇压过程中,覆土镇压辊在垂直载荷作用下,与基质的接触点,不仅有基质对轮子的支撑反力法向合力(FN)、切向摩擦力的合力(FT),还有轮轴中的内摩擦力矩(Mm)、基质给部件在轮上的阻力矩(Mk)等,受力分析如图8所示。
当镇压辊处于平衡状态时,根据图8有:
| $\left\{ {\begin{array}{*{20}{l}} {{F_{\rm{P}}} - {F_x} = 0}\\ {G - {F_y} = 0}\\ {{F_{\rm{P}}}{l_{\rm{v}}} - Gl_{{\rm{h}}} - {M_{\rm{m}}} - {M_{\rm{k}}} = 0} \end{array}} \right.,$ | (2) |
式中:FP为牵引力,N;G为覆土镇压辊的重力及其附加载荷,N;Fy为垂直反力,N;Fx为摩擦力,N;r为覆土镇压辊的半径,cm;lh为A点与轮心之间的水平距离,cm;lv为A点与轮心之间的垂直距离,cm。
|
图 8 覆土镇压辊受力分析图 Fig. 8 Force analysis diagram of the soil covering and pressing roller FP为牵引力;Q为覆土镇压辊的重力及其附加载荷;F为轮缘上的基质总反力;Fy为垂直反力;Fx为摩擦力;r为覆土镇压辊的半径;lh为A点与轮心之间的水平距离;lv为A点与轮心之间的垂直距离;Z为下陷量;Z0为下陷深度; Mm和Mk为摩擦力矩;FN为支撑反力法向合力;FT为切向摩擦力的合力 FP: Traction force; Q : Gravity of the roller and its additional load; F: Radius of the covering roller; Fy : Vertical reaction force; Fx: Friction force; lh : Horizontal distance between point A and wheel center; lv: Vertical distance between point A and wheel center; Z : Subsidence; Z0: Subsidence depth; Mm and MK: Friction torque; FN : Normal resultant force of support reaction; FT: Resultant force of tangential friction |
根据受力分析图,镇压辊共有3种不同的运动状态:
轮子处于纯滚动状态,有:
| ${F_x} > {F_{\rm{P}}};\;\;{F_{\rm{P}}}{l_{\rm{v}}} > Gl_{{\rm{h}}} + {M_{\rm{m}}} + {M_{\rm{k}}},$ | (3) |
轮子处于既滚动又滑动状态,有:
| ${F_{\rm{P}}} > {F_x}{\rm{;}}\;\;{F_{\rm{P}}}{l_{\rm{v}}} > Gl_{{\rm{h}}} + {M_{\rm{m}}} + {M_{\rm{k}}},$ | (4) |
轮子处于纯滑移状态,有:
| $F_{x}>{F_{\rm{P}}} ; \;\;{F_{\rm{P}}}{l_{\rm{v}}}>Gl_{{\rm{h}}}+M_{\rm m}+M_{\rm k} {\text{。}}$ | (5) |
由于基质的复杂特性,覆土镇压辊运动过程中,覆土镇压辊与基质接触不可能完全纯滚动,会存在一定的滑移。因此,为保证纯滚动,在地轮与镇压辊间加入链传动,使覆土镇压辊与地轮同步转动。
2.5 覆土镇压辊所受支撑反力由图8可知:
| $ G-\int {\rm {d}} R \;\rm cos\; \theta=0 \text{,} $ | (6) |
换算得:
| $ G = b\int_0^x F_{{\rm{P}}}{\rm d}x \text{,} $ | (7) |
覆土镇压辊行走阻力(Fp)计算公式为:
| ${F_{\rm{p}}} = k{Z^{{n}}},$ | (8) |
式中:b表示覆土镇压辊的宽度,mm;n、k均为基质参数,
非刚性路面承受载荷,当镇压辊压入基质的深度不大时,则下陷量(Z)的计算可以简化[9]为:
| $ Z=\frac{6 G}{5 K b D^{\frac{1}{2}}}\text{,} $ | (9) |
接地面积(S)计算公式为:
| $ S = b \times \frac{D}{2}{\text{co}}{{\text{s}}^{ - 1}}\frac{{D - 2Z}}{D}\text{,} $ | (10) |
因此,镇压辊对地面的压强(P),通过下式计算:
| $ P = \frac{G}{S} {\text{。}} $ | (11) |
覆土镇压辊直径按照播种深度的紧实度进行设计,根据文献[23]介绍的土层剖面法,结合三七育苗的最佳镇压力范围,可得基质深度为10 mm处的镇压力为20~30 kPa,故设计镇压辊镇压力为30 kPa。根据播深为10 mm的农艺要求[3],取下陷量为10 mm得出覆土镇压辊载荷为1560 N,接地面积为0.052 m2,直径为150 mm。
2.7 压力弹簧选型基质本身存在密度不均匀的现象[15],基质紧实度因此有差异,开沟器开出的沟垄可能高低不平,使得覆土厚度不均匀,故需压力弹簧来补偿镇压力及覆土高度。根据育苗槽的尺寸特性,三七育苗槽槽内基质表面距离槽肩约70~130 mm。结合农艺要求和三七精密播种机整体结构,覆土镇压辊整体连接结构如图9所示。
|
图 9 覆土镇压辊连接机构受力分析 Fig. 9 Force analysis of the connecting mechanism of soil covering and pressing roller FN为地面对覆土镇压轮作用力;L为杆AB的长度;l1为压力弹簧接触点距A点的距离;α为杆AB与水平面之间的夹角;F´为牵引力;Fk为弹簧压缩力;Ff为地面与覆土镇压辊之间的摩擦力 FN : Force acting on the ground surface of the soil covering and pressing wheel; L: Length of rod AB; l1 is the distance between the contact point of pressure spring and point A; α: Angle between the rod AB and the horizontal plane; F´: Fraction force; Fk: Spring compression force; Ff : Friction force between the ground and the soil covering and pressing roller |
在正常工作条件下,地面对覆土镇压轮的作用力和弹簧的压力共同作用在中间连杆上,在左端A铰链处形成平衡杠杆。根据杠杆平衡原理[24]可得:
| $\left\{\begin{array}{l} F_{\mathrm{k}} l_{1} \cos \alpha=F_{{\rm{N}}} L \cos \alpha+F_{{\rm{f}}} L \sin \alpha \\ F_{\mathrm{k}}=K \Delta l \\ F_f=\mu{F_{\rm{N}}} \end{array}\right.,$ | (12) |
式中:L为杆AB的长度,mm;l1为压力弹簧接触点距A点的距离,mm;α为杆AB与水平面之间的夹角,(°);K表示弹簧刚度系数,N/mm;Δl表示弹簧压缩量,mm;μ表示地面与覆土镇压辊之间的摩擦系数,基质摩擦系数取0.207[25]。
由式(12)可得:
| $ F_{{\rm{N}}} = \frac{{{\text{k}}{l_1}{\textit{Δ}} l\; {\rm{cos}}\; \alpha }}{{L({\rm{cos}} \;\alpha + \mu {\rm{sin}} \;\alpha )}} {\text{。}}$ | (13) |
当下陷量为10 mm时,弹簧处于自然状态(对镇压辊无作用),此时γ1=14.82°,如图10a所示。
| $\left\{ \begin{gathered} F_1\cos {\gamma_1}+ F_{N1} = G_1 \hfill \\ F_{f1} = F_1\sin {\gamma_1} \hfill \\ \end{gathered} \right. {\text{。}} $ | (14) |
当下陷量低于10 mm时,弹簧处于压缩状态,此时下陷量Z按最低值5 mm计算,此时γ2=18.48°,如图10b所示。
| $ \left\{ \begin{array}{l} F_2\cos {{\gamma_2}} + F_{{\rm{N}}2} = F_{\rm{k2}} + G_2\\ {F_{\rm{k2}}}L_2{{\rm{sin}}{\gamma}_2} = (F_{{\rm{N}}2} + F_2\cos {{\gamma_2}} - G_2)L_2{\rm{sin}}({{\gamma_2)}} \end{array} \right.{\text{。}} $ | (15) |
根据机架整体结构设计,l1=142 mm,L=235 mm,镇压辊刚好接触基质时,α=68°,根据式(12)、(13)得出Fk=2 108.8 N。前期试验研究发现,播前土壤紧实度不足易导致开沟时土壤回落量大,并根据农艺要求[8,26],开沟轮开沟深度为15~30 mm,按最大的刚度来计算:
| $K=\frac{F_{\rm k}}{\Delta L}=140.5 {~\rm N} / {\rm mm} {\text{。}}$ | (16) |
弹簧的选择应使弹簧刚度大于理论刚度以保证弹簧的安全性,根据弹簧刚度、弹簧最低可伸长量、弹簧最低可承受载荷,查询相关国家标准[27],选5Χ25Χ50 GB/T2089号的压缩弹簧。
|
图 10 不同下陷量的覆土镇压辊弹簧平衡受力图 Fig. 10 Spring balance force diagram of soil covering and pressing rollers with different sinkage FN1和FN2为地面对覆土镇压轮作用力;L1和L2为杆AB的长度;γ1和γ2为杆AB与垂直平面之间的夹角;F1和F2为牵引力;Fk1和Fk2为弹簧压缩力;Ff1和Ff2为地面与覆土镇压辊之间的摩擦力 FN1,FN2: Force acting on the ground surface of soil covering and pressing roller; L1, L2 : Length of rod AB; γ1 , γ2 : Angle between the rod AB and the vertical plane; F1 , F2 : Traction force; Fk1 , Fk2 : Spring compression force; Ff1, Ff2 : Friction force between the ground and the soil covering and pressing roller |
因三七育苗播种为小行株距、浅播深,针对其所设计的覆土镇压辊,作业时产生的微量土壤扰动是否会使已经播种合格的种子发生较大位置偏移量尚不可知,因此,在制作实物前先进行仿真分析。采用离散元法,借助EDEM软件,对覆土镇压过程中的覆土厚度、粒距偏移量及行距偏移量进行仿真。
3.1 EDEM仿真模型建立用SolidWorks软件对覆土镇压辊进行实体建模,如图11所示。用EDEM软件建立虚拟土槽。前期研究发现,最终播种深度受开沟过程土壤回落和覆土镇压过程土壤扰动的影响,在播种机前进速度为0.1 m/s、开沟深度为20 mm时效果较好[8],但后续生产实践中,农艺期望将播种机前进速度提高至0.16 m/s,进一步提高播种效率,而速度提高后开沟时会造成土壤回落量增大,因此,综合考虑土壤基质类型、基质湿度和开沟后的土壤回落情况,仿真试验时将开沟深度设定为25 mm;因单行无法表示双行的受力挤压情况,故基质土槽设置2行;单行测算2颗种子位移即可,但考虑第1颗种子偏差很大,且排除偶然性,增加前后2颗种子的测算量,故单行设置4颗种子,共8颗种子,编号为A、B、C、D、E、F、G、H,如图12所示。为简化模型,基质采用1 mm颗粒,种子采用5.75 mm颗粒[28];参照文献[29],选取仿真参数:土壤JKR表面能12.73 J/m2、土壤−土壤恢复系数和静摩擦因数分别为0.55和0.84,土壤泊松比0.38、土壤−土壤滚动摩擦因数为0.10、土壤−镇压轮恢复系数、静摩擦因数和滚动摩擦因数分别为0.30、0.60 和0.10。
|
图 11 覆土镇压辊模型 Fig. 11 Model of the soil covering and pressing roller |
|
图 12 基质模型 Fig. 12 Matrix model A~H为种子编号 A−H are seed numbers |
为模拟播种机实际运动作业状态,设定覆土镇压辊前进速度为0.16 m/s,转速0.3 r/s,下陷量10 mm,并设置覆土镇压辊在基质土槽一侧进行作业,仿真过程如图13所示。当播种速度为0.16 m/s,开沟深度为25 mm,镇压力为300 kPa时,仿真结果显示,覆土镇压辊稳定作业后,覆土厚度为9.77~11.40 mm,如图14所示。粒距偏移量为0.07~6.23 mm,如图15a所示,行距偏移量为0.03~1.43 mm,如图15b所示。仿真结果显示,覆土厚度符合农艺要求,种子的行距偏移量、粒距偏移量均非常小,可以制作镇压辊实物开展试验。
|
图 13 覆土镇压过程土壤运动模型 Fig. 13 Model of soil movement during the soil covering and compacting process |
|
图 14 仿真后种子处覆土厚度 Fig. 14 Thickness of soil covering at seed after simulation |
|
图 15 粒距偏移图 Fig. 15 Migration map of grain distance and line spacing A~H为种子编号 A−H are seed numbers |
依据仿真结果,试制覆土镇压装置,开展试验验证所设计覆土镇压辊的可行性。
4.1 试验条件试验在云南农业大学校内搭建的土槽进行,土槽长12000 mm、宽1500 mm,土层深度300~350 mm,基质湿度在20%~30%,土槽试验如图16所示。试验用的主要仪器设备有2QB−28型三七精密播种机、湿度测量仪、DHKJ土壤紧实度仪(德卡精密量仪有限公司)、钢直尺(精度0.1 mm)、卷尺、计算器等。
|
图 16 土槽试验 Fig. 16 Soil trough test |
以开沟深度(A)和播种机前进速度(B)为试验因素,以覆土厚度及覆土厚度一致性为试验指标,开展两因素三水平正交组合试验,覆土厚度按照NYT 503—2015单粒(精密)播种机作业质量标准[30]规定的方法进行测量。因素水平表如表3所示。每组试验重复3次。
|
|
表 3 试验因素水平编码表 Table 3 Table of test factors and levels |
对试验数据进行测量统计,结果如表4所示。
|
|
表 4 试验结果表 Table 4 Table of test results |
以覆土厚度(Y1)及覆土厚度一致性(Y2)为分析指标,对试验数据进行方差分析,得到方差分析结果,见表5和表6。
|
|
表 5 覆土厚度的方差分析 Table 5 Variance analysis of soil covering thickness |
覆土厚度方差分析结果如表5所示。覆土厚度的回归模型达到显著水平(P<0.05),说明该回归模型与自变量具有显著的函数关系;在覆土厚度回归方程中,A对覆土厚度影响极显著(P<0.01),B对覆土厚度影响显著(P<0.05),其他因素影响不显著。通过F检验,得出影响覆土厚度的主次顺序为开沟深度、播种机前进速度,与显著性检验结果相吻合。
将表5中不显著因素剔除后,得到试验因素与试验指标的回归方程:
| $ Y_{1}=16.962\;96-1.133\;33 A+0.962\;96 B。$ | (17) |
结果覆土厚度一致性方差分析结果如表6所示。覆土厚度一致性的回归模型达到极显著水平(P<0.01),说明该回归模型与自变量具有显著的函数关系;在覆土厚度一致性回归方程中,A和A2对覆土厚度一致性影响极显著(P<0.01),B对覆土厚度一致性影响显著(P<0.05),其他因素影响不显著。通过F检验,得出影响覆土厚度一致性的主次顺序为开沟深度、播种机前进速度,与显著性检验结果相吻合。
|
|
表 6 覆土厚度一致性的方差分析 Table 6 Variance analysis of consistency of soil covering thickness |
将表6中不显著因素剔除后,得到试验因素与试验指标的回归方程:
| $ Y_{2}=-12.189\;44+6.890\;33 A+0.997\;50 B-0.138\;00 A^{2} {\text{。}} $ | (18) |
由方差分析可知AB对覆土厚度及覆土厚度一致性的交互作用并不显著,但在田间试验时发现AB对覆土厚度及覆土厚度一致性的交互作用存在影响,为确定影响程度,进行AB对覆土厚度及覆土厚度一致性的交互作用响应曲面的分析。
4.3 开沟深度、播种机前进速度对试验指标的影响效应分析应用Design-Expert10.0.3软件分析得到开沟深度、播种机前进速度2个因素分别对覆土厚度及覆土厚度一致性的交互影响,响应曲面如图17所示。由图17可知,开沟深度对覆土厚度的影响比播种机前进速度显著,覆土厚度随着开沟深度的增加而上升,其上升趋势基本稳定,覆土厚度随播种机前进速度的增加而缓慢增加,且呈现出先增加后减少的趋势;开沟深度对覆土厚度一致性的影响比播种机前进速度明显,覆土厚度一致性随着开沟深度的增加或播种机前进速度的增加呈现先增加后减少的趋势,且开沟深度在25 mm,播种机前进速度在0.16 m/s时覆土厚度一致性最佳。
|
图 17 试验因素对覆土厚度及覆土厚度一致性的响应曲面 Fig. 17 Response surface of test factors to soil covering thickness and its consistency |
综上,得A2B2为最佳水平组合,即当开沟深度为25 mm、播种机前进速度为0.16 m/s时,覆土厚度为11 mm、覆土厚度一致性为85.15%。其覆土效果较好,且覆土厚度一致性最高,覆土厚度结果与仿真结果一致。
4.4 镇压紧实度试验调节播种机开沟器开沟深度,将开沟深度固定为25 mm,将播种机前进速度固定为0.16 m/s进行覆土镇压紧实度试验,并进行测量记录。将紧实度测量仪探针插入测量区域10 cm土壤深处,进行基质紧实度数据采集,每组试验重复3次,结果如表7所示。由表7可以看出开沟深度25 mm、播种机前进速度0.16 m/s时土壤紧实度为300~360 kPa,符合三七种子出苗率和三七种苗品级试验结果。
|
|
表 7 最佳参数镇压结果 Table 7 Compaction result with the optimal parameters |
1)通过田间试验得出,三七出苗率及种苗品级最佳的基质湿度为25%、紧实度范围为200~400 kPa。据此,通过覆土镇压辊滚动计算和覆土镇压辊与地面镇压强度计算,确定了覆土镇压辊直径为150 mm,压力弹簧最大刚度为140.5 N/mm。
2)借助EDEM软件对覆土镇压过程中覆土厚度、种子偏移量进行仿真分析,结果显示,覆土厚度为9.77~11.40 mm,粒距偏移量为0.07~6.23 mm,行距偏移量为0.03~1.43 mm。
3)以开沟深度、播种机前进速度为试验因素,覆土厚度及覆土厚度一致性为试验指标,开展了两因素三水平正交试验。结果表明:播种机前进速度0.16 m/s,开沟深度25 mm,此时覆土效果最佳,覆土厚度一致性为85.15%。以覆土效果最佳参数进行镇压性能试验,得到土壤紧实度均值范围为300~360 kPa,满足三七优良种苗品级精密播种的作业要求。
| [1] |
杨文彩, 朱有勇, 杜迁, 等. 基于农机农艺融合的三七机械化精密播种系统研究[J]. 广东农业科学, 2014, 41(2): 175-180. DOI:10.3969/j.issn.1004-874X.2014.02.041 ( 0) |
| [2] |
杨文彩, 朱有勇, 杜迁, 等. 云南三七工厂化育苗工程技术体系分析[J]. 南方农业学报, 2012, 43(12): 2069-2073. DOI:10.3969/j:issn.2095-1191.2012.12.2069 ( 0) |
| [3] |
BERTI M T, JOHNSON B L, HENSON A. Seeding depth and soil packing affect pure live seed emergence of cuphea[J]. Industrial Crops and Products, 2008, 27(3): 272-297. DOI:10.1016/j.indcrop.2007.10.004 ( 0) |
| [4] |
郭慧, 陈志, 贾洪雷, 等. 锥形轮体结构的覆土镇压器设计与试验[J]. 农业工程学报, 2017, 33(12): 56-65. DOI:10.11975/j.issn.1002-6819.2017.12.008 ( 0) |
| [5] |
刘选伟, 金亮, 赵亚祥, 等. 基于均匀设计的双层圆盘式覆土器的试验研究[J]. 中国农机化学报, 2016, 37(2): 26-28. ( 0) |
| [6] |
苟文, 马荣朝, 樊高琼, 等. 套作模式下链环式覆土器的参数优化[J]. 农业工程学报, 2011, 27(12): 33-37. DOI:10.3969/j.issn.1002-6819.2011.12.007 ( 0) |
| [7] |
侯守印, 魏志鹏, 史乃煜, 等. 弹性螺旋式覆土镇压器的设计与参数优化试验[J]. 农机化研究, 2021, 43(3): 42-51. DOI:10.3969/j.issn.1003-188X.2021.03.008 ( 0) |
| [8] |
杨文彩, 徐路路, 杜一帆, 等. 三七育苗播种压轮仿形开沟装置的设计与试验[J]. 农业工程学报, 2020, 36(7): 53-62. DOI:10.11975/j.issn.1002-6819.2020.07.006 ( 0) |
| [9] |
赵淑红, 刘宏俊, 谭贺文, 等. 丘陵地区双向仿形镇压装置设计与试验[J]. 农业机械学报, 2017, 48(4): 82-89. ( 0) |
| [10] |
张仕林, 赵武云, 戴飞, 等. 全膜双垄沟起垄覆膜机镇压作业过程仿真分析与试验[J]. 农业工程学报, 2020, 36(1): 20-30. DOI:10.11975/j.issn.1002-6819.2020.01.003 ( 0) |
| [11] |
LI B, CHEN Y, CHEN J, et al. Modeling of soil-claw interaction using the discrete element method(DEM)[J]. Soil & Tillage Research, 2016, 158(1): 177-185. ( 0) |
| [12] |
CHIROUX R C, FOSTER W A, JOHNSON C E, et al. Three-dimensional finite element analysis of soil interaction with a rigid wheel[J]. Applied Mathematics & Computation, 2005, 162(2): 707-722. ( 0) |
| [13] |
VIKTOR M, LARS J, MUNKHOLM, et al. Modelling approach for soil displacement in tillage using discrete element method[J]. Soil & Tillage Research, 2018, 183: 60-71. ( 0) |
| [14] |
林涛, 汤秋香, 郝卫平, 等. 地膜残留量对棉田土壤水分分布及棉花根系构型的影响[J]. 农业工程学报, 2019, 35(19): 117-125. DOI:10.11975/j.issn.1002-6819.2019.19.014 ( 0) |
| [15] |
朱卫红, 铁双贵, 孙建军, 等. 不同土壤质地及播种深度对甜玉米出苗潜势的影响[J]. 河南农业科学, 2005(11): 35-36. DOI:10.3969/j.issn.1004-3268.2005.11.011 ( 0) |
| [16] |
曹慧英, 王丁波, 史建国, 等. 播种深度对夏玉米幼苗性状和根系特性的影响[J]. 应用生态学报, 2015, 6(8): 397-404. ( 0) |
| [17] |
崔晓明, 张亚如, 张晓军, 等. 土壤紧实度对花生根系生长和活性变化的影响[J]. 华北农学报, 2016, 31(6): 131-136. DOI:10.7668/hbnxb.2016.06.021 ( 0) |
| [18] |
李瑞杰, 陈垣, 郭凤霞, 等. 素花党参种苗质量分级标准研究[J]. 中国中药杂志, 2012, 37(20): 3041-3046. ( 0) |
| [19] |
International Organization for Standardization. Traditional Chinese medicine - Panax notoginseng seeds and seedlings: ISO 20408: 2017[S]. Geneva: ISO International Standards, 2017.
( 0) |
| [20] |
贾铭钰. 免耕播种机镇压装置的实验研究与计算机辅助设计[D]. 北京: 中国农业大学, 2000.
( 0) |
| [21] |
刘其潼, 张晋国, 杨娜, 等. 玉米免耕深松全层施肥精量播种机播前碎土镇压轮的研制[J]. 农机化研究, 2015, 37(7): 127-130. DOI:10.3969/j.issn.1003-188X.2015.07.029 ( 0) |
| [22] |
李宝筏. 农业机械学[M]. 北京: 中国农业出版社, 2018, 19-24.
( 0) |
| [23] |
王益, 刘军, 王益权, 等. 黄土高原南部3种农田土壤剖面坚实度的变化规律[J]. 西北农林科技大学学报(自然科学版), 2007, 35(9): 200-204. ( 0) |
| [24] |
汤庆, 吴崇友, 袁文胜, 等. 油菜毯状苗高速移栽机覆土镇压装置结构设计[J]. 中国农机化学报, 2016, 37(3): 20-22. ( 0) |
| [25] |
贾洪雷, 郭慧, 郭明卓, 等. 行间耕播机弹性可覆土镇压轮性能有限元仿真分析及试验[J]. 农业工程学报, 2015, 31(21): 9-16. DOI:10.11975/j.issn.1002-6819.2015.21.002 ( 0) |
| [26] |
杨文彩, 杜一帆, 宋志鹏, 等. 2BQ-27型三七精密播种机仿形开沟器的改进设计[J]. 农机化研究, 2018, 40(3): 109-114. DOI:10.3969/j.issn.1003-188X.2018.03.022 ( 0) |
| [27] |
中华人民共和国国家质量监督检验检疫总局. 普通圆柱螺旋压缩弹簧尺寸及参数: GB/T 2089—2009 [S]. 北京: 中国标准出版社, 2009.
( 0) |
| [28] |
李超群. 2BQ-28型三七精密播种机关键部件的研究与设计[D]. 昆明: 云南农业大学, 2016.
( 0) |
| [29] |
向伟, 吴明亮, 吕江南, 等. 基于堆积试验的黏壤土仿真物理参数标定[J]. 农业工程学报, 2019, 35(12): 116-123. DOI:10.11975/j.issn.1002-6819.2019.12.014 ( 0) |
| [30] |
中华人民共和国农业部农业机械化管理司. 单粒(精密)播种机作业质量: NY/T 503—2015[S]. 北京: 中国标准出版社, 2015.
( 0) |
2022, Vol. 43


0)